EasyManua.ls Logo

HP 9030 CE - Page 71

HP 9030 CE
95 pages
Print Icon
To Next Page IconTo Next Page
To Next Page IconTo Next Page
To Previous Page IconTo Previous Page
To Previous Page IconTo Previous Page
Loading...
9-6
9030140 Diagrams
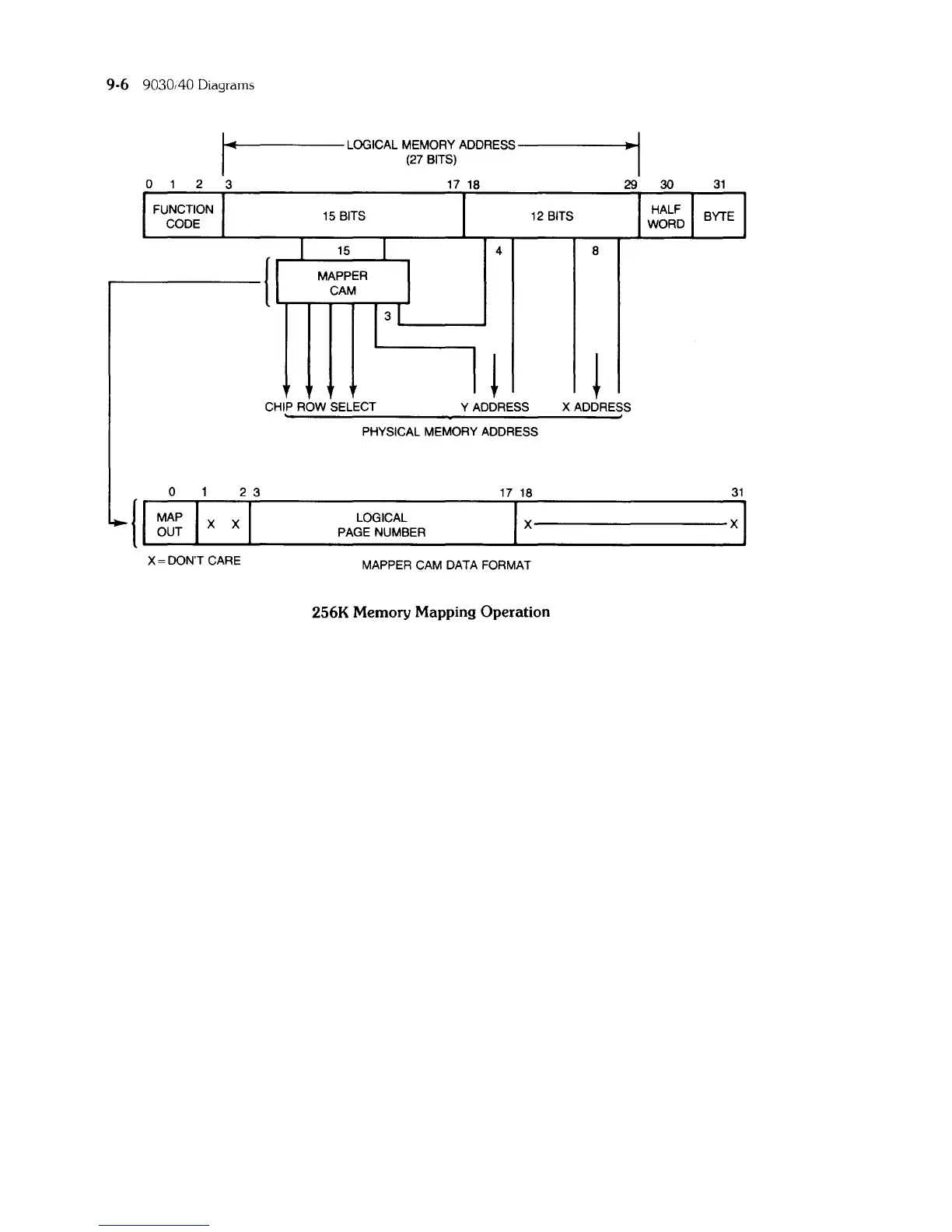
o 2
I
.....
~-----LOGICAL
MEMORY
ADDRESS-----
.........
-11
(27
BITS)
29 30
12
BITS
4 8
~
CHIP
ROW
SELECT
Y
ADDRESS
X
ADDRESS
PHYSICAL MEMORY
ADDRESS
31
o 1 2 3
17 18
31
x = DON'T
CARE
LOGICAL
PAGE
NUMBER
MAPPER
CAM
DATA
FORMAT
256K Memory Mapping Operation

Related product manuals