EasyManua.ls Logo

HP 9030 CE - Page 77

HP 9030 CE
95 pages
Print Icon
To Next Page IconTo Next Page
To Next Page IconTo Next Page
To Previous Page IconTo Previous Page
To Previous Page IconTo Previous Page
Loading...
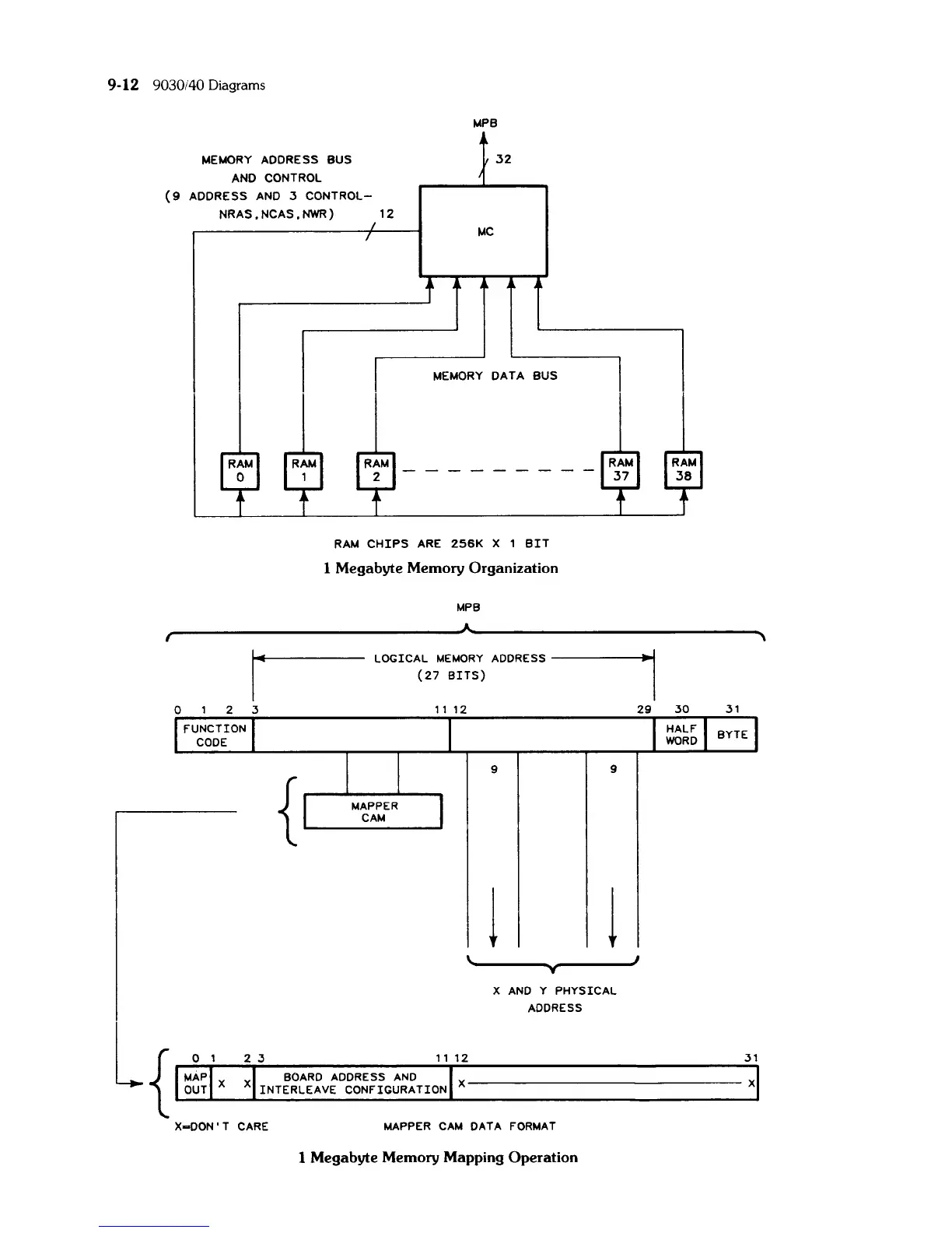
9-12 9030/40 Diagrams
MEMORY
ADDRESS
BUS
AND
CONTROL
(9
ADDRESS
AND
3 CONTROL-
NRAS.NCAS.NWR)
12
MPB
32
MC
MEMORY
DATA
BUS
RAM
CHIPS
ARE
256K
X 1
BIT
1 Megabyte Memory
Organization
t
MPB
A
LOGICAL
MEMORY
ADDRESS
------i~~1
(27
BITS)
X-DON'T
CARE
9
9
1
1
\
y
X
AND
Y PHYSICAL
ADDRESS
MAPPER
CAM
DATA
FORMAT
1 Megabyte Memory Mapping
Operation
I
,

Related product manuals