EasyManua.ls Logo

Huawei ME909s-821 - 3.5 UART Interface

Huawei ME909s-821
76 pages
Print Icon
To Next Page IconTo Next Page
To Next Page IconTo Next Page
To Previous Page IconTo Previous Page
To Previous Page IconTo Previous Page
Loading...
HUAWEI ME909s Series LTE Mini PCIe Module
Hardware Guide
Description of the Application Interfaces
Huawei Proprietary and Confidential
Copyright © Huawei Technologies Co., Ltd.
23
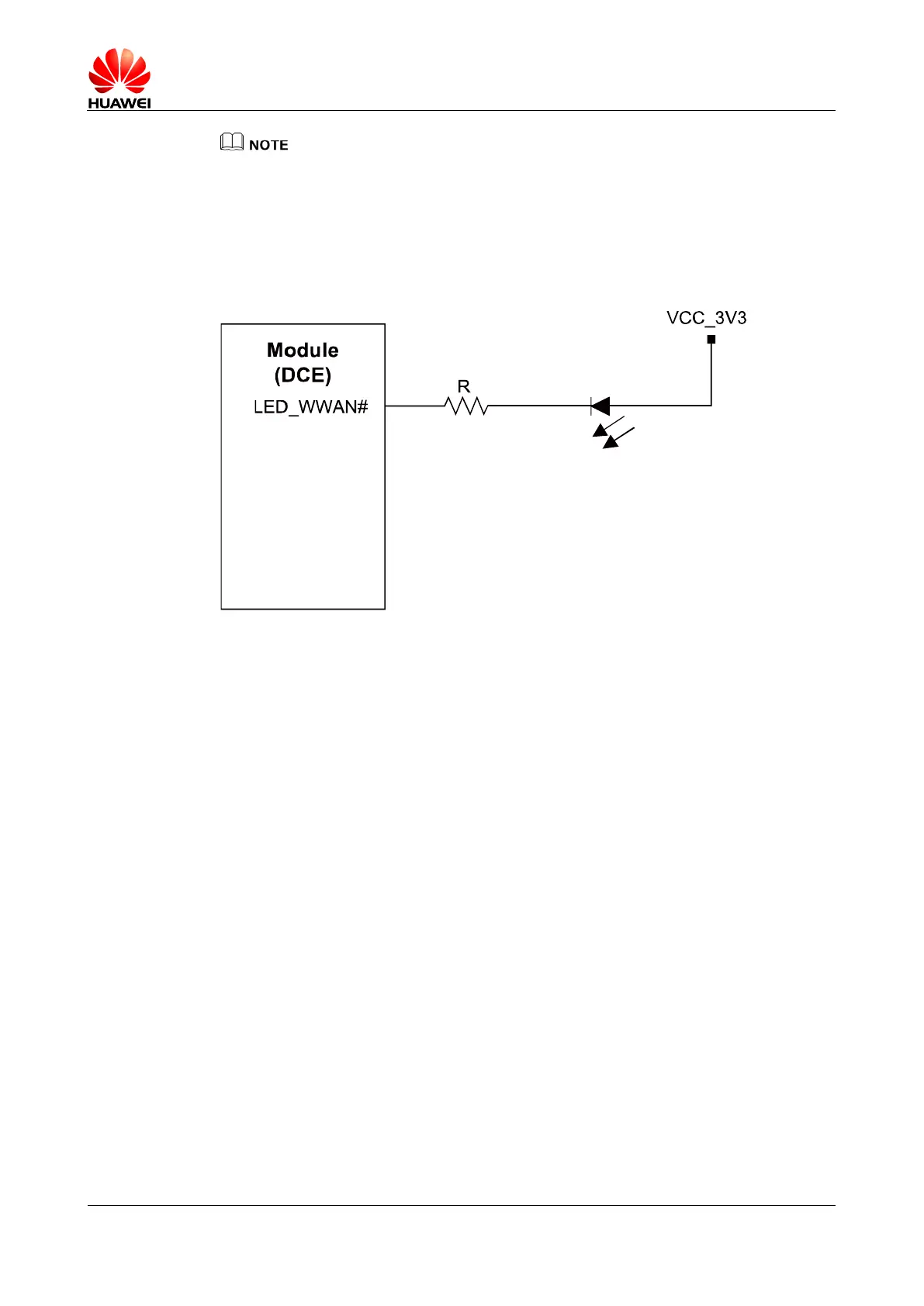
The voltage level of the LED_WWAN# pin is controlled by AT^LEDCTRL. Its states are as listed
in Table 3-4 only when the indicator is turned on and runs Huawei's default blinking scheme.
Figure 3-8 shows the recommended circuits of the LED_WWAN# pin. According to
LED feature, you can adjust the LED brightness by adjusting the resistance of resistor
R. The mode indicator (LED_WWAN#) is current sink. Drive strength: 10 mA.
Figure 3-8 Driving circuit
3.5 UART Interface
The ME909s Mini PCIe module provides the UART (4-wire UART) interface for one
asynchronous communication channel. As the UART interface supports signal control
through standard modem handshake, AT commands are entered and serial
communication is performed through the UART interface. The UART have the
following features:
Full-duplex
7-bit or 8-bit data
1-bit or 2-bit stop bit
Odd parity check, even parity check, or non-check
Baud rate clock generated by the system clock
Direct memory access (DMA) transmission
UART supports baud rate: 300 bit/s, 600 bit/s, 1200 bit/s, 2400 bit/s ,4800 bit/s,
9600 bit/s, 19200 bit/s, 38400 bit/s, 57600 bit/s, 115200 bit/s (default), 230400
bit/s, 1000000 bit/s, 3000000 bit/s
Baud rate auto adaptive change is supported. AP must choose one default Baud
rate to communicate with module in the beginning.
Table 3-5 lists the UART interface signals.

Table of Contents

Other manuals for Huawei ME909s-821

Related product manuals