EasyManua.ls Logo

Huawei ME909s-821 - 6.6 Thermal Design Guide

Huawei ME909s-821
76 pages
Print Icon
To Next Page IconTo Next Page
To Next Page IconTo Next Page
To Previous Page IconTo Previous Page
To Previous Page IconTo Previous Page
Loading...
HUAWEI ME909s Series LTE Mini PCIe Module
Hardware Guide
Mechanical Specifications
Huawei Proprietary and Confidential
Copyright © Huawei Technologies Co., Ltd.
67
3. Place the plug cable assembly (held in the tool) over the corresponding
receptacle.
4. Assure that the plug and receptacle are aligned press-down perpendicular to the
mounting surface until both connectors are fully mated.
5. Remove the mating tool by pulling it up carefully.
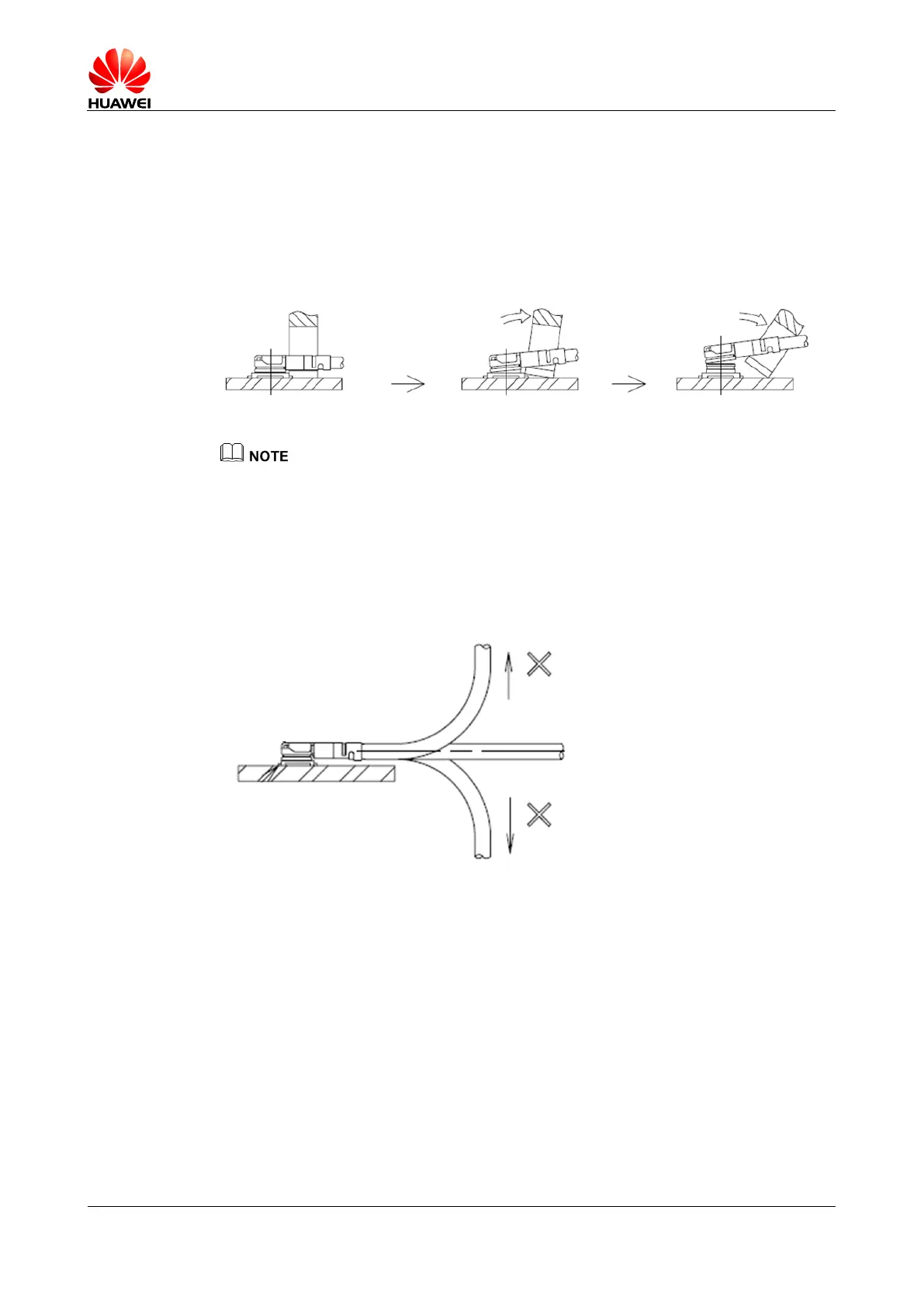
Figure 6-5 Unmating the plug
The extraction tool is recommended.
Any attempt of unmating by pulling on the cable may result in damage and influence the
mechanical/electrical performance.
It is recommended not to apply any pull forces after the bending of the cable, as
described in Figure 6-6 .
Figure 6-6 Do not apply any pull forces after the bending of the cable
6.6 Thermal Design Guide
When using in the network, the ME909s Mini PCIe module (Mini PCIe) has high power
consumption. To improve the module reliability and stability, focus on the thermal
design of the device to speed up heat dissipation.
Take the following heat dissipation measures:
Do not hollow out the customer PCB.
Attach the thermal conductive material between the Mini PCIe and the customer
PCB. The recommended thermal conductivity of the thermal conductive material
is 1.0 W/m-k or higher (recommended manufacturers: Laird and Bergquist). The

Table of Contents

Other manuals for Huawei ME909s-821

Related product manuals