EasyManua.ls Logo

Hubbell ST - Electrical Installation

Hubbell ST
24 pages
Print Icon
To Next Page IconTo Next Page
To Next Page IconTo Next Page
To Previous Page IconTo Previous Page
To Previous Page IconTo Previous Page
Loading...
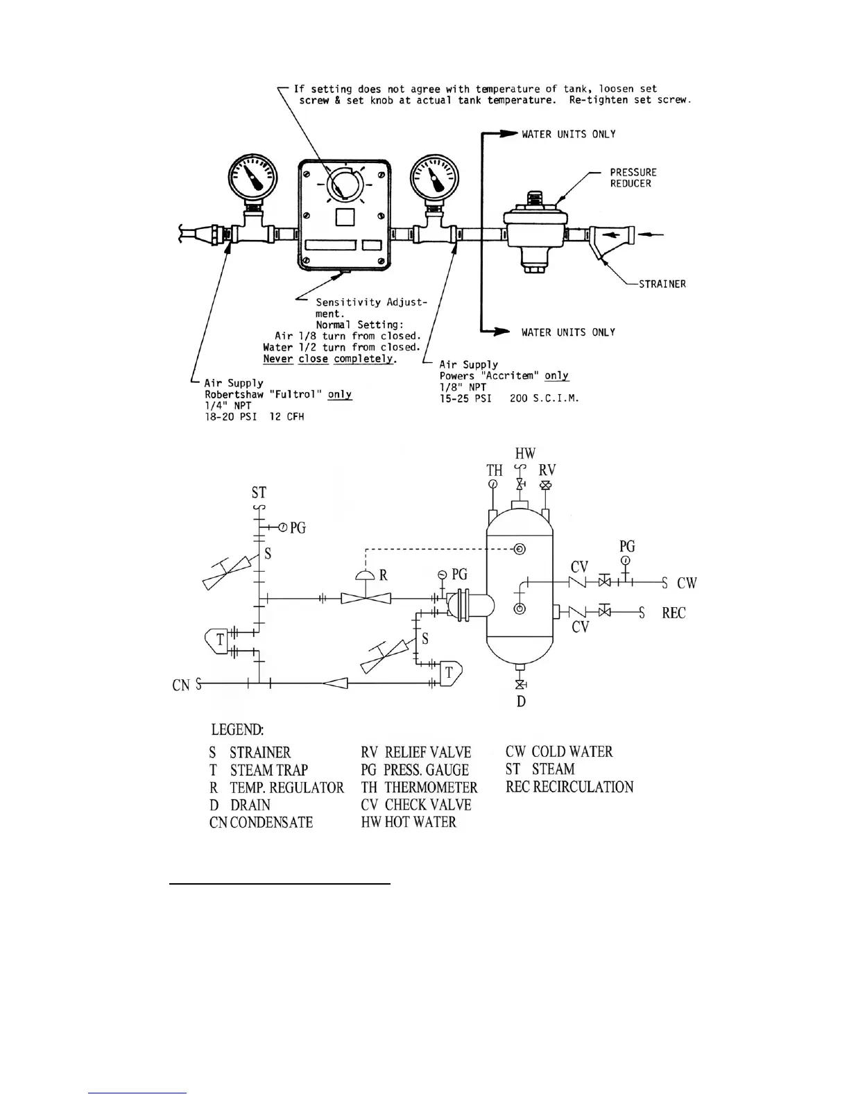
Typical Piping Diagram
ELECTRICAL INSTALLATION
1. If the unit is furnished with a pilot or self contained control valve, no external
source of power is required for the valve. (See enclosed operation and
maintenance manual for specific valves).
2. If the unit is furnished with an air or electric control valve, see enclosed
drawings for required connections. (See enclosed operation and maintenance
manuals for specific valves).
Torque screws per torque chart included in Section VI.
11

Related product manuals