EasyManua.ls Logo

Husky 32220 - Page 31

Husky 32220
41 pages
Print Icon
To Next Page IconTo Next Page
To Next Page IconTo Next Page
To Previous Page IconTo Previous Page
To Previous Page IconTo Previous Page
Loading...
Page-31
All Products limited to Vehicle Tow Rating, see Vehicle Owners Manual. Visit www.huskytow.com for Warranty Information /
Tech Support / Product Updates. 2020 Keystone Automotive Operations Inc. All Rights Reserved. 08/27/2020-Rev8
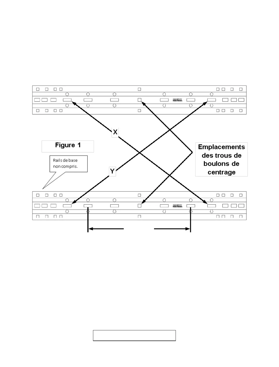
Installation des boulons de centrage
1. Avant d’assembler le « système de roulement HUSKY », s’assurer que les rails sont
installés de manière appropriée en angle droit l’un avec l’autre. Mesurer de façon diagonale
d’un côté à l’autre. Voir la figure 1. Les mesures « X » et « Y » devraient se situer à 3/16 po
l’une de l’autre. Ces mesures sont exigées pour l’ajustement et le fonctionnement
appropriés du « système de roulement HUSKY ». Si des rails préexistants sont utilisés,
s’assurer que la distance centre à centre (avant et arrière) est de 22 po et qu’il y a deux
paires d’encoches dans les rails espacées à 20-5/8 po (côté à côté) Autrement,
communiquer avec le commerçant local pour la sélection et l’installation appropriées des
rails.
20-5/8
po
2. Installez le kit Husky Center Bolt inclus, qui est REQUIS..
3. Repérer le trou central de chaque rail (consulter la figure 1). En utilisant ces trous comme guide,
percer un trou de 5/8 po au travers de la caisse du camion. S’assurer que le réservoir d’essence,
les conduites de frein et d’essence et les fils électriques situés sous la caisse ne se trouvent pas
dans le trajet de perçage des trous.
4. Insérer les boulons de carrosserie de 5/8 po fournis dans les emplacements de boulons de
centrage au travers de la caisse du camion.
5. Vérifier les ondulations sur le plancher de la caisse du camion et installer la plaque
d’espacement dans la bonne position, comme le montre la figure 2.
Rails de base non compris

Related product manuals