EasyManua.ls Logo

i-box Barrel - Page 25

i-box Barrel
100 pages
Print Icon
To Next Page IconTo Next Page
To Next Page IconTo Next Page
To Previous Page IconTo Previous Page
To Previous Page IconTo Previous Page
Loading...
Barrel | 25
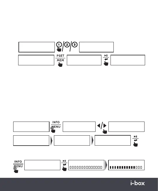
Abruf eines Senders aus den Voreinstellungen
Greifen Sie schnell auf Ihre in einem Voreinstellungs-Slot gespeicherten
Lieblingssender zu.
DAB
<Full Scan >
Scanning... 0 Scanning... 24
DAB-Menüoptionen
Im DAB-Modus können Sie auf folgende Funktionen zugreifen: Vollständige
Frequenzsuche, Voreinstellung Abruf, Voreinstellung Speichern, Manuelle
Sendereinstellung, DRC (Dynamic Range Control), Streichen und System.
Vollständige Frequenzsuche (automatische Suche): Durchsucht alle
DAB-Frequenzen und speichert alle verfügbaren Sender in der Senderliste ab.
Mit den Voreinstellungstasten 1-3 (10, 11, 12) können Sie die in Ihren ersten
drei Voreinstellungen gespeicherten Sender augenblicklich auswählen.
Heart UK
Now Playing: Room
Heart UK
Now Playing: Room
Preset Recall
<1: BBC Radio 1 >
BBC Radio 1
Connecting...
BBC Radio 1
Now playing: Some
1.
2.
≥2s
BBC Radio 1
Now Playing: Flore
DAB
<Full Scan >
DAB
<Manual Tune >
DAB
<Prune >
DAB
<DRC >
DAB
<System >
≥2s
Lautstärkeregelung und Stummschaltung
Um die Lautstärke während der Wiedergabe zu erhöhen, verwenden Sie
die Lauter-Taste (8). Um die Lautstärke zu verringern, verwenden Sie die
Lautstärketaste (9). Um die Stummschaltung im DAB/FM- oder AUX-In-
Modus zu aktivieren, dcken Sie kurz die Play/Enter-Taste (6), um die
Stummschaltung aufzuheben, drücken Sie kurz die Taste.

Related product manuals