EasyManua.ls Logo

i-box Barrel - Page 32

i-box Barrel
100 pages
Print Icon
To Next Page IconTo Next Page
To Next Page IconTo Next Page
To Previous Page IconTo Previous Page
To Previous Page IconTo Previous Page
Loading...
Barrel | 32www.iboxstyle.com
3.
4.
5.
7.
6.
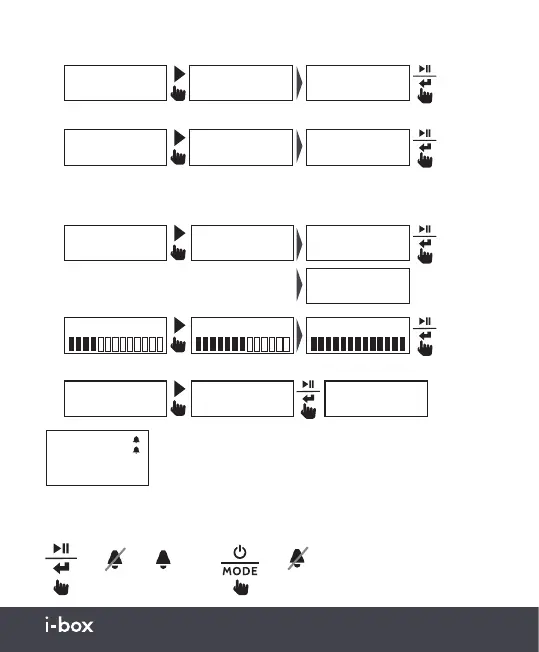
Alarm 1 Wizard
Duration 15
Alarm 1 Wizard
Source Buzzer
Alarm 1 Wizard
Daily
Alarm 1 Wizard
Alarm Off
08:57:23
9-6-2021
BBC Radio 6
Now playing: He
Alarm 1 Wizard
Alarm On
Alarm 1 Wizard
Alarm Saved
Alarm 1 Wizard Alarm 1 Wizard Alarm 1 Wizard
Alarm 1 Wizard
Once
Alarm 1 Wizard
Weekdays
Alarm 1 Wizard
Weekends
Alarm 1 Wizard
Source DAB
Alarm 1 Wizard
Source FM
Alarm 1 Wizard
Duration 30
Alarm 1 Wizard
Duration 90
Dauer auswählen: Wählen Sie 15, 30, 45, 60 oder 90 Sekunden.
Quelle wählen: Auswahl zwischen Summer, DAB und FM.
Alarmhäufigkeit auswählen
Lautstärke auswählen
Alarmaktivierung auswählen
DAB und FM verwenden den zuletzt gehörten Sender oder eine der
Voreinstellungen als Quelle für den Alarmton.
Aktive Alarme werden in der oberen rechten Ecke des
Displays angezeigt.
1
2
Alarm - Schlummerfunktion/Deaktivieren
9 minuten
Dösen Stopp
Auf

Related product manuals