EasyManua.ls Logo

i-box Barrel - Page 41

i-box Barrel
100 pages
Print Icon
To Next Page IconTo Next Page
To Next Page IconTo Next Page
To Previous Page IconTo Previous Page
To Previous Page IconTo Previous Page
Loading...
Barrel | 41
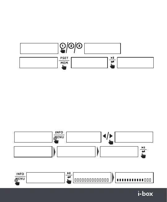
Recuperar una emisora desde las preselecciones
Acceda rápidamente a sus emisoras favoritas guardadas en un espacio de
preselección.
Puede utilizar los botones de preseleccn 1-3 (10, 11, 12) para seleccionar
inmediatamente las emisoras de las tres primeras preselecciones.
DAB
<Full Scan >
Scanning... 0 Scanning... 24
Opciones del menú DAB
Mientras está en el modo DAB, puede acceder a funciones como: Búsqueda
completa, Recuperación de presintonías, Almacenamiento de presintonías,
Sintonización manual, DRC (Control de rango dinámico), Depuración y Sistema.
Búsqueda completa (búsqueda automática): Busque todas las
frecuencias DAB y guarde todas las emisoras disponibles en la lista de emisoras.
Heart UK
Now Playing: Room
Heart UK
Now Playing: Room
Preset Recall
<1: BBC Radio 1 >
BBC Radio 1
Connecting...
BBC Radio 1
Now playing: Some
1.
2.
≥2s
BBC Radio 1
Now Playing: Flore
DAB
<Full Scan >
DAB
<Manual Tune >
DAB
<Prune >
DAB
<DRC >
DAB
<System >
≥2s
Control de volumen y función de silencio
Para aumentar el volumen durante la reproducción, use la tecla Subir
volumen (8). Para bajar el volumen, use la tecla Bajar volumen (9).
Para silenciar mientras está en modo DAB / FM o AUX In, presione
brevemente la tecla Reproducir / Entrar (6), para reactivar el silencio
presione brevemente la tecla.

Related product manuals