EasyManua.ls Logo

i-box Barrel - Page 48

i-box Barrel
100 pages
Print Icon
To Next Page IconTo Next Page
To Next Page IconTo Next Page
To Previous Page IconTo Previous Page
To Previous Page IconTo Previous Page
Loading...
Barrel | 48www.iboxstyle.com
3.
4.
5.
7.
6.
Alarm 1 Wizard
Duration 15
Alarm 1 Wizard
Source Buzzer
Alarm 1 Wizard
Daily
Alarm 1 Wizard
Alarm Off
08:57:23
9-6-2021
BBC Radio 6
Now playing: He
Alarm 1 Wizard
Alarm On
Alarm 1 Wizard
Alarm Saved
Alarm 1 Wizard Alarm 1 Wizard Alarm 1 Wizard
Alarm 1 Wizard
Once
Alarm 1 Wizard
Weekdays
Alarm 1 Wizard
Weekends
Alarm 1 Wizard
Source DAB
Alarm 1 Wizard
Source FM
Alarm 1 Wizard
Duration 30
Alarm 1 Wizard
Duration 90
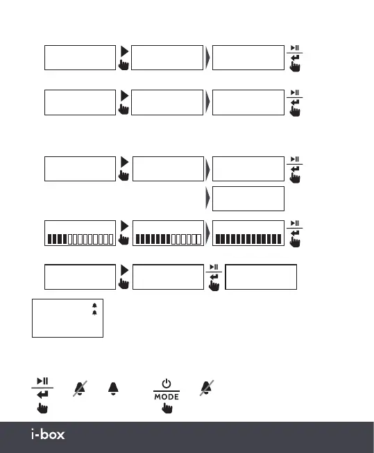
Seleccione la duración: Elija entre encendido, 15, 30, 45, 60 y 90 segundos.
Seleccione la fuente: Elija entre timbre, DAB y FM.
Seleccione la frecuencia de la alarma
Seleccione el volumen
Seleccione la activación de la alarma
DAB y FM utilizarán la última emisora reproducida o una de las
preseleccionadas como fuente para el sonido de la alarma.
Las alarmas activas se mostrarán en la esquina superior
derecha de la pantalla.
1
2
Aplazar/detener la alarma
9 minutos
Dormir Detener
Apagado

Related product manuals