EasyManua.ls Logo

i-box Barrel - Page 64

i-box Barrel
100 pages
Print Icon
To Next Page IconTo Next Page
To Next Page IconTo Next Page
To Previous Page IconTo Previous Page
To Previous Page IconTo Previous Page
Loading...
Barrel | 64www.iboxstyle.com
3.
4.
5.
7.
6.
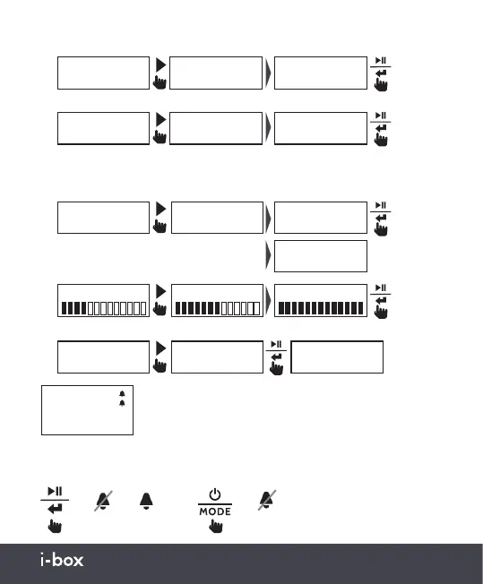
Alarm 1 Wizard
Duration 15
Alarm 1 Wizard
Source Buzzer
Alarm 1 Wizard
Daily
Alarm 1 Wizard
Alarm Off
08:57:23
9-6-2021
BBC Radio 6
Now playing: He
Alarm 1 Wizard
Alarm On
Alarm 1 Wizard
Alarm Saved
Alarm 1 Wizard Alarm 1 Wizard Alarm 1 Wizard
Alarm 1 Wizard
Once
Alarm 1 Wizard
Weekdays
Alarm 1 Wizard
Weekends
Alarm 1 Wizard
Source DAB
Alarm 1 Wizard
Source FM
Alarm 1 Wizard
Duration 30
Alarm 1 Wizard
Duration 90
Durée: Choisissez entre 15, 30, 45, 60 et 90 secondes.
Sélection de la source: Choisissez entre sonnerie, DAB et FM.
Sélection de la fréquence de l’alarme
Sélectionnez le volume
Sélectionnez l’activation de l’alarme
Si vous sélectionnez DAB ou FM, la dernière station écoutée ou l’une des
présélections sera jouée.
Les alarmes actives safficheront dans le coin supérieur
droit de l’écran.
1
2
Fonction Snooze/Stop de l’alarme
9 minutes
Faire la sieste Arrêter
Désactivé

Related product manuals