EasyManua.ls Logo

i-box Barrel - Page 73

i-box Barrel
100 pages
Print Icon
To Next Page IconTo Next Page
To Next Page IconTo Next Page
To Previous Page IconTo Previous Page
To Previous Page IconTo Previous Page
Loading...
Barrel | 73
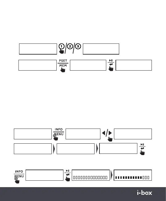
Richiamo di una stazione dalle preimpostazioni
Accesso rapido alle stazioni preferite memorizzate nelle posizioni di
preimpostazione.
Usare i pulsanti di preimpostazione 1-3 (10, 11, 12) per selezionare
istantaneamente le stazioni preimpostate nelle prime tre posizioni.
DAB
<Full Scan >
Scanning... 0 Scanning... 24
Opzioni del menu DAB
Quando la radio è in modalità DAB si può accedere a funzioni come: scansione
completa, richiamo preimpostazioni, memorizzazione preimpostazioni,
sintonia manuale, DRC (Dynamic Range Control), eliminazione e sistema.
Scansione completa (ricerca automatica): Cerca tutte le frequenze
DAB e memorizza nell’elenco delle stazioni tutte le stazioni disponibili.
Heart UK
Now Playing: Room
Heart UK
Now Playing: Room
Preset Recall
<1: BBC Radio 1 >
BBC Radio 1
Connecting...
BBC Radio 1
Now playing: Some
1.
2.
≥2s
BBC Radio 1
Now Playing: Flore
DAB
<Full Scan >
DAB
<Manual Tune >
DAB
<Prune >
DAB
<DRC >
DAB
<System >
≥2s
Controllo del volume e funzione Mute
Per aumentare il volume durante la riproduzione utilizzare il tasto Volume su (8).
Per diminuire il volume utilizzare il tasto Volume Giù (9).
Per disattivare l’audio in modalità DAB/FM o AUX In, premere brevemente
il tasto Play/Enter (6), per riattivare l’audio premere brevemente il tasto.

Related product manuals