EasyManua.ls Logo

i-box Barrel - Page 8

i-box Barrel
100 pages
Print Icon
To Next Page IconTo Next Page
To Next Page IconTo Next Page
To Previous Page IconTo Previous Page
To Previous Page IconTo Previous Page
Loading...
Barrel | 08www.iboxstyle.com
00:00:07
1-1-2021
Scanning..... 22
11:24:52
24-5-2021
Connecting.....
11:24:52
24-5-2021
BBC Radio 1
Now Playing: Flore
BBC Radio 1
Now Playing: Flore
BBC Radio 1
Now Playing: Flore
Heart UK
Now Playing: Room
Heart UK
Now Playing: Room
Preset Recall
<1: BBC Radio 1 >
BBC Radio 1
Connecting...
BBC Radio 1
Now playing: Some
Preset Store
<1: (Empty) >
Preset 1
Stored
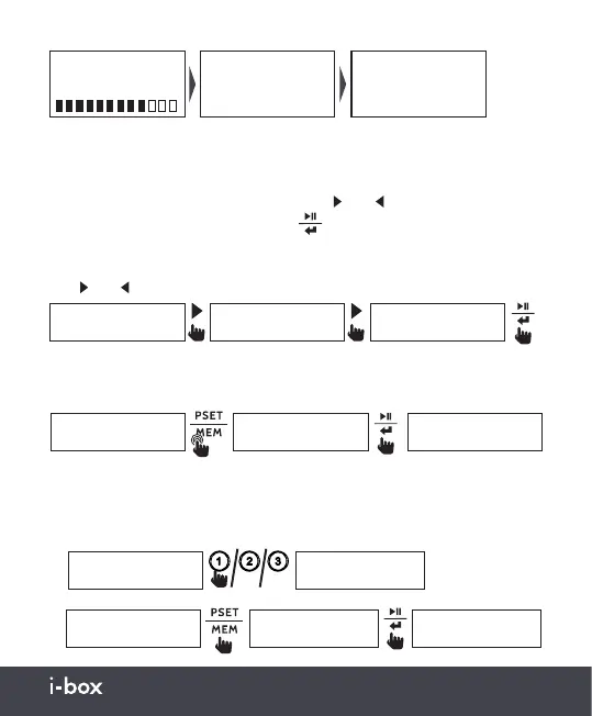
Station List
<BBC Radio 1 >
Station List
<Cap UK >
If the radio station signal is too weak the time and date will not be synced.
See page 10 to manually set the clock.
Station List
Use
and
to browse all the available DAB stations.
Navigating Menus
Long Press Info / Menu (3), then use the and buttons (5&7) to
scroll through menu options. Press (6) to select an option or enter
a sub menu.
Storing a station to Preset
Save your favourite stations to one of the 60 available preset slots, (30 for
DAB and 30 for FM).
Recalling a station from Presets
Quickly access your favourite stations saved to a preset slot.
1.
2.
You can use the Preset 1-3 buttons (10,11,12) to instantly select the stations in
the first three presets.
≥2s

Related product manuals