EasyManua.ls Logo

IBM 9545 - Page 379

IBM 9545
508 pages
To Next Page IconTo Next Page
To Next Page IconTo Next Page
To Previous Page IconTo Previous Page
To Previous Page IconTo Previous Page
Loading...
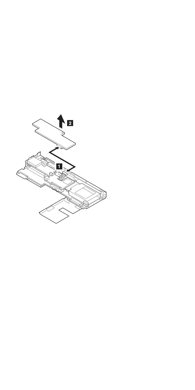
2130 DC/DC Card
CD-ROM Drive (2030)
Battery Pack (2020)
Hard Disk Drive (2040)
Keyboard Unit (2080)
Status Indicator (2090)
Backup Battery (2110)
Standby Battery and Front IR (2100)
Logic Assembly (2115)
Shield Assembly (2120)
Video Card or Rear IR (2125)
ThinkPad 755CD, 755CDV (9545) 369

Table of Contents

Related product manuals