EasyManua.ls Logo

IBM 9545

IBM 9545
508 pages
To Next Page IconTo Next Page
To Next Page IconTo Next Page
To Previous Page IconTo Previous Page
To Previous Page IconTo Previous Page
Loading...
2190 LCD Assembly
CD-ROM Drive (2030)
Battery Pack (2020)
Keyboard Unit (2080)
Status Indicator (2090)
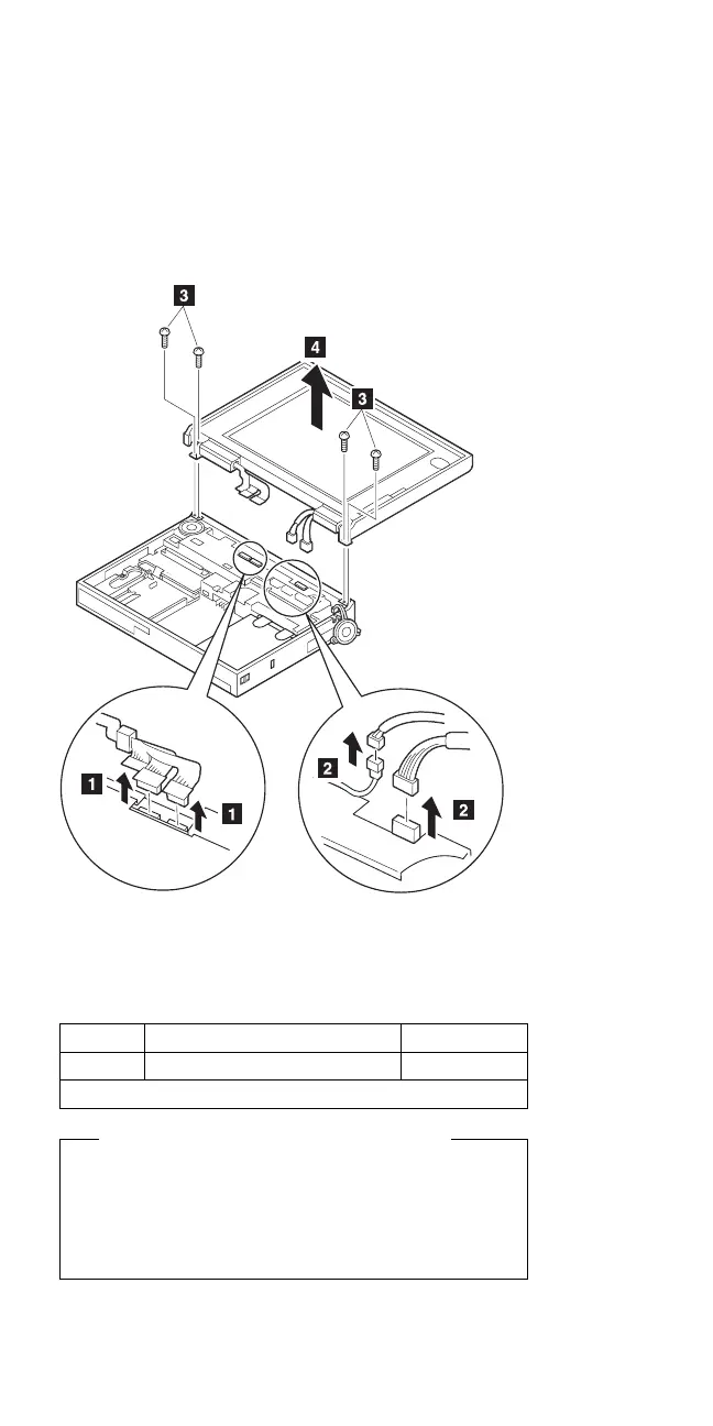
Note: When removing the LCD cables ▌1▐, pull the
connector straight up. Incorrect handling can
damage the connector.
Use the following table for reference when replacing parts.
Safety Notice 5: Translation on page 11
If the LCD breaks and the fluid from inside the LCD
gets into your eyes or on your hands, immediately
wash the affected areas with water for at least 15
minutes. Seek medical care if any symptoms from the
fluid are present after washing.
Step Location (Quantity) Length
▌3▐ LCD hinge (4) 4 mm
Note: Make sure you use the correct screw.
ThinkPad 755CD, 755CDV (9545) 377

Table of Contents

Related product manuals