EasyManua.ls Logo

IBM iSeries 810 - Page 437

IBM iSeries 810
622 pages
To Next Page IconTo Next Page
To Next Page IconTo Next Page
To Previous Page IconTo Previous Page
To Previous Page IconTo Previous Page
Loading...
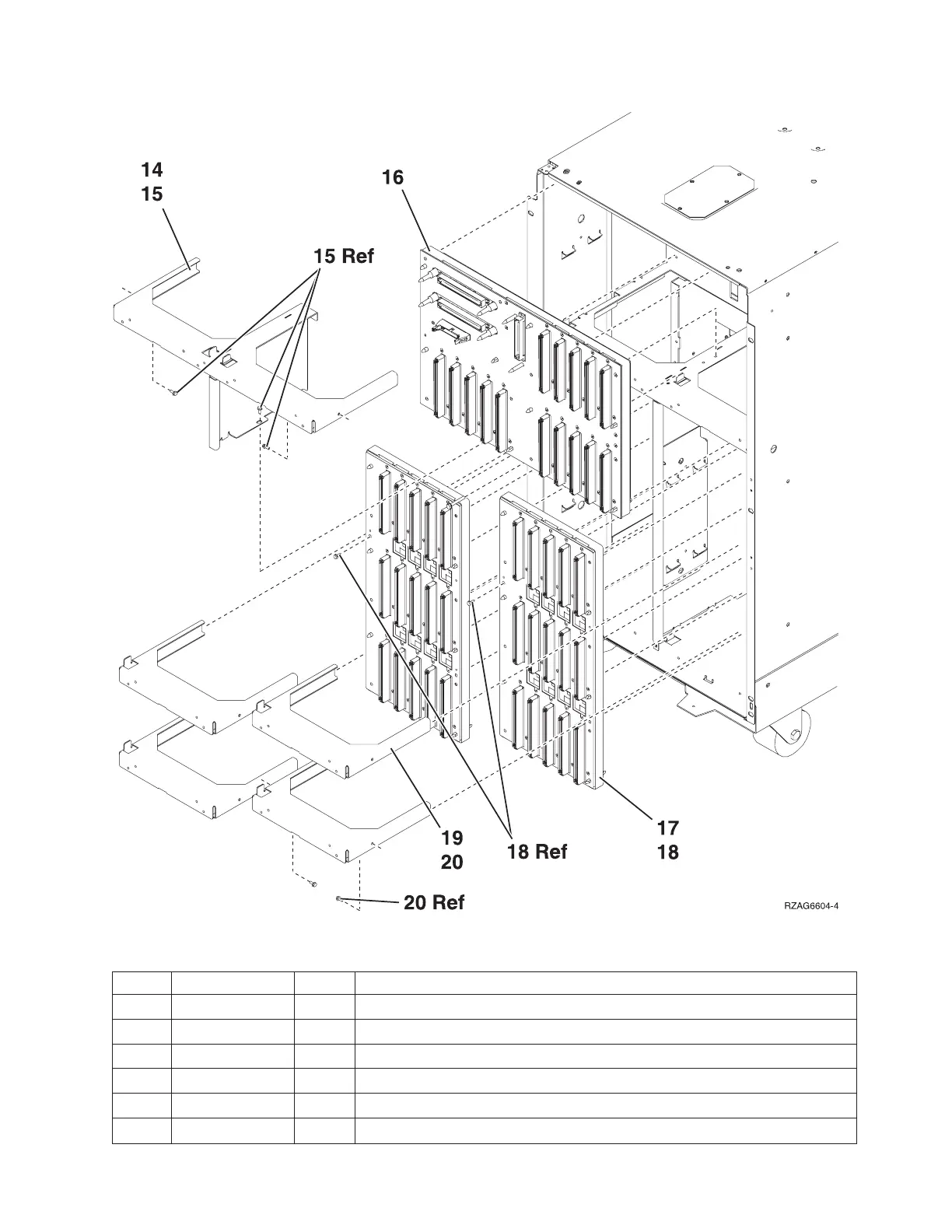
Table 3. Final assembly - FC 9079 Base I/O Tower (Models 840 and SB3), (continued)
Index Part number Units Description
14 NONUM 1 Shelf, base disk unit
15 1621811 3 Screw, M4 (10mm)
16 24L0892 1 Base disk unit board/stiffener assembly (DB3)
17 24L1029 AR Disk unit board/stiffener assembly (DB1 and DB2)
18 1621838 1 Screw
19 NONUM AR Shelf, disk unit
Analyze hardware problems 425

Table of Contents

Other manuals for IBM iSeries 810

Related product manuals