EasyManua.ls Logo

IBM RS/6000 7014-S00 - Page 55

IBM RS/6000 7014-S00
156 pages
Print Icon
To Next Page IconTo Next Page
To Next Page IconTo Next Page
To Previous Page IconTo Previous Page
To Previous Page IconTo Previous Page
Loading...
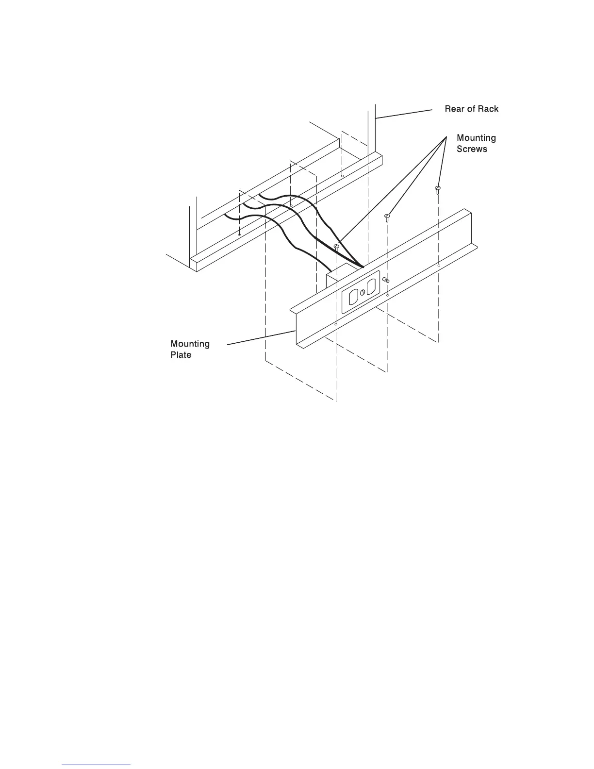
16. Attach the mounting plate to the rack by installing and tightening the three
mounting screws.
Chapter 2. System Installation 2-23

Related product manuals