EasyManua.ls Logo

IBM ThinkPad 310 - Page 88

IBM ThinkPad 310
120 pages
Print Icon
To Next Page IconTo Next Page
To Next Page IconTo Next Page
To Previous Page IconTo Previous Page
To Previous Page IconTo Previous Page
Loading...
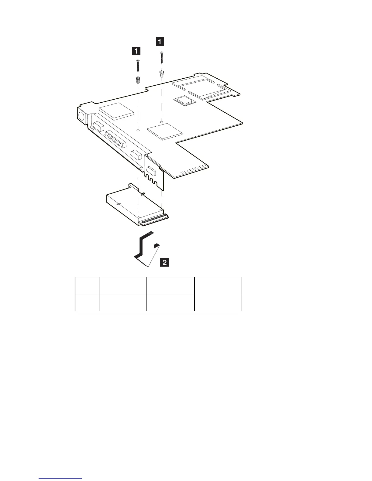
PCMCIA Slot Assembly
Note: Make sure you use the correct screw when
replacing.
Step Size
(Quantity)
Head and
Color
Memo
.1/ M2 x 14L (2) Pan head,
silver
w/ brackets
64 IBM Mobile Systems ThinkPad 310 (D/E/ED) HMM

Related product manuals