EasyManua.ls Logo

IBM ThinkPad 755 Series - Page 171

IBM ThinkPad 755 Series
508 pages
Print Icon
To Next Page IconTo Next Page
To Next Page IconTo Next Page
To Previous Page IconTo Previous Page
To Previous Page IconTo Previous Page
Loading...
FRU Removals and Replacements
This section contains information about removals and
replacements.
Follow the numerical sequence in “Disassembling the
ThinkPad 701C/701CS” on page 163 and the three
exploded views to remove or disconnect parts in the
correct order. Reverse the numerical sequence to replace
FRUs. Note exceptions and special instructions for
replacement throughout the FRU removal procedure.
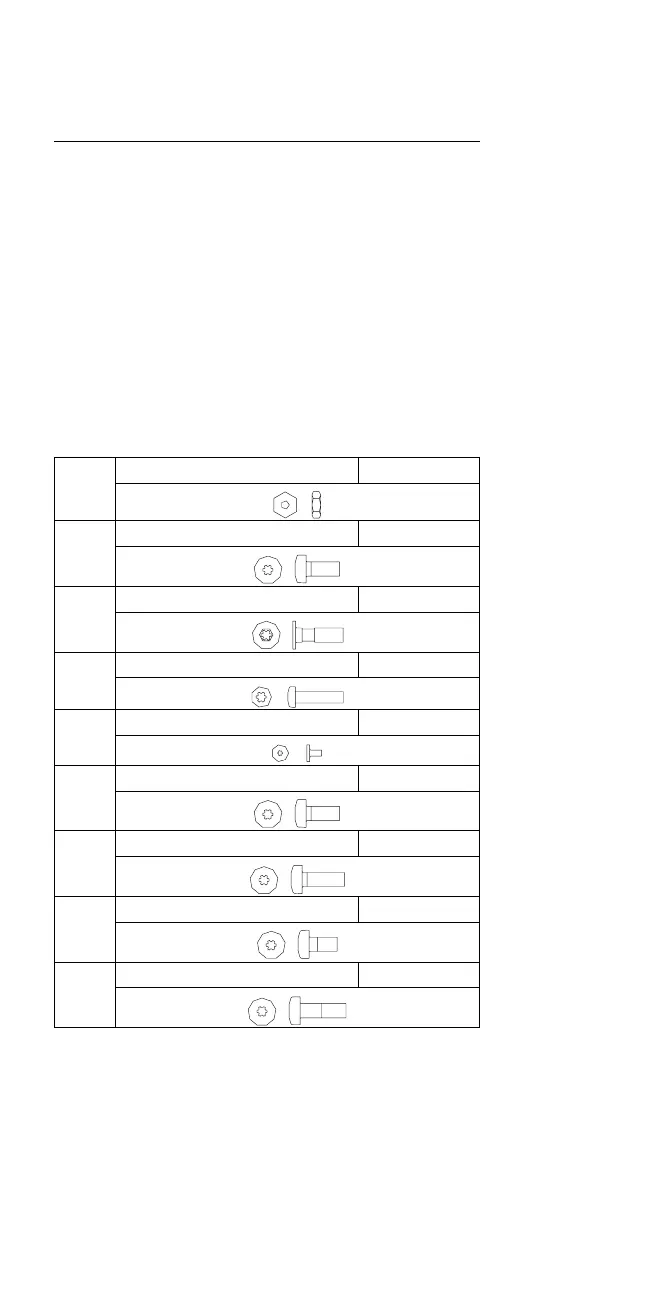
The letters in parentheses in the list indicate screw types.
Consult the following screw size chart to match the letters
to the correct screw type and size before replacing each
screw.
BA Nut, M2.5 Silver
BC M2.5, 6 mm Black
BD M2.5, 8.4 mm Black
BE M2.5, 10 mm Black
BF M1, 3 mm Black
BG M2.5, 7.5 mm Black
BH M2.5, 8 mm Black
BI M2.5, 5 mm Black
BJ M2, 8 mm Silver
ThinkPad 701C/701CS (2630) 161

Table of Contents

Related product manuals