Home
IBM
Server
TotalStorage EXP24 7031-D24
Page 278
IBM TotalStorage EXP24 7031-D24 - Page 278
336 pages
Manual
Save Page as PDF
To Next Page
To Next Page
To Previous Page
To Previous Page
Loading...
T
able
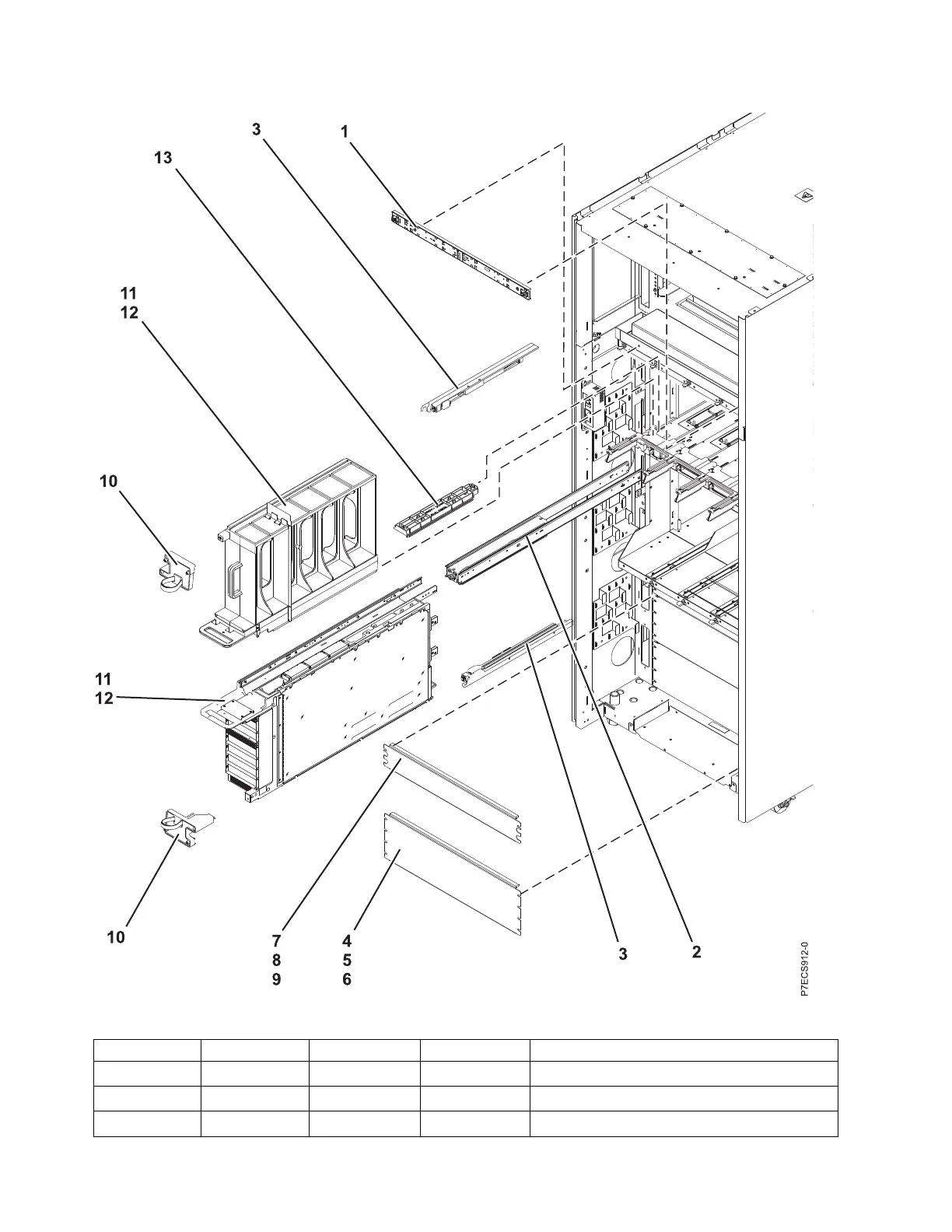
148.
Final
assembly
(assembly
3)
Index
number
CCIN
Part
number
Units
Description
1
45D5694
1
Light
strip,
front
2
45D2986
4
Actuator
assembly
(top
and
bottom)
3
45D2965
8
Node
lock
assembly
266
Finding
parts,
locations,
and
addresses
277
279
Table of Contents
Main Page
Default Chapter
5
Table of Contents
5
Safety Notices
7
What's New in Parts, Locations, and Addresses
14
Part Locations and Location Codes
15
8202-E4B or 8205-E6B
15
8202-E4B or 8205-E6B Locations
18
8202-E4C, 8202-E4D, 8205-E6C, or 8205-E6D
27
8202-E4C, 8202-E4D, 8205-E6C, or 8205-E6D Locations
30
8231-E2B
38
8231-E2B Locations
41
8231-E1C, 8231-E1D, 8231-E2C, 8231-E2D, or 8268-E1D
47
8231-E1C, 8231-E1D, 8231-E2C, 8231-E2D, or 8268-E1D Locations
50
8233-E8B and 8236-E8C
56
8233-E8B and 8236-E8C Locations
59
8248-L4T, 8408-E8D, or 9109-RMD
66
8248-L4T, 8408-E8D, or 9109-RMD Locations
69
9117-MMB and 9179-MHB
76
9117-MMB and 9179-MHB Locations
79
8412-EAD, 9117-MMC, 9117-MMD, 9179-MHC, or 9179-MHD
85
8412-EAD, 9117-MMC, 9117-MMD, 9179-MHC, or 9179-MHD Locations
88
9119-Fhb
94
9119-FHB Locations
97
9125-F2C
106
9125-F2C Locations
109
5786, 5787, 7031-D24, and 7031-T24
142
5786, 5787, 7031-D24, and 7031-T24 Locations
145
5796 And 7314-G30
149
5796 And 7314-G30 Locations
152
5802 And 5877
154
5802 And 5877 Locations
157
5803 And 5873
161
5803 And 5873 Locations
164
5886 Locations
170
5887 Locations
174
5888 Or EDR1 Pcie Storage Enclosure
176
5888 Or EDR1 Pcie Storage Enclosure Locations
179
Addresses
182
8202-E4B or 8205-E6B Addresses
183
8202-E4C, 8202-E4D, 8205-E6C, or 8205-E6D Addresses
184
8231-E2B Addresses
185
8231-E1C, 8231-E1D, 8231-E2C, 8231-E2D, or 8268-E1D Addresses
185
8233-E8B and 8236-E8C Addresses
186
8408-E8D or 9109-RMD Addresses
187
9117-MMB and 9179-MHB Addresses
188
8412-EAD, 9117-MMC, 9117-MMD, 9179-MHC, or 9179-MHD Addresses
190
5786, 5787, 7031-D24, and 7031-T24 Addresses
192
5796 And 7314-G30 Addresses
193
5802 And 5877 Addresses
193
5803 And 5873 Addresses
194
5886 Addresses
196
5888 Or EDR1 Pcie Storage Enclosure Addresses
197
System Parts
198
8202-E4B or 8205-E6B System Parts
198
8202-E4C, 8202-E4D, 8205-E6C, or 8205-E6D System Parts
206
Disk Drive and Solid-State Drive System Parts
212
Keyboard Parts
215
8231-E2B System Parts
216
8231-E1C, 8231-E1D, 8231-E2C, 8231-E2D, or 8268-E1D System Parts
221
Disk Drive and Solid-State Drive System Parts
226
Keyboard Parts
229
8233-E8B and 8236-E8C System Parts
229
8248-L4T, 8408-E8D, or 9109-RMD System Parts
239
Disk Drive and Solid-State Drive System Parts
245
Keyboard Parts
248
Wrap Plug Parts
249
9117-MMB and 9179-MHB System Parts
249
Disk Drive and Solid-State Drive System Parts
256
Keyboard Parts
258
Wrap Plug Parts
260
8412-EAD, 9117-MMC, 9117-MMD, 9179-MHC, or 9179-MHD System Parts
260
Disk Drive and Solid-State Drive System Parts
270
Keyboard Parts
273
Wrap Plug Parts
274
9119-FHB System Parts
275
9125-F2C System Parts
287
5786, 5787, 7031-D24, and 7031-T24 System Parts
298
5796 And 7314-G30 System Parts
303
5802 And 5877 System Parts
306
5803 And 5873 System Parts
309
5886 System Parts
312
Disk Drive and Solid-State Drive System Parts
313
5887 System Parts
316
Disk Drive and Solid-State Drive System Parts
319
5888 Or EDR1 Pcie Storage Enclosure System Parts
322
Notices
325
Trademarks
326
Electronic Emission Notices
326
Class a Notices
326
Class B Notices
330
Terms and Conditions
333
Related product manuals
IBM x3550 M4 Type 7914
868 pages
IBM x3100 M5 Type 5457
688 pages
IBM Carrier Grade X3650 T
108 pages
IBM System x3650 Type 7979
194 pages
IBM System x3400 Type 7975
124 pages
IBM System x3100 M4 Type 2582
108 pages
IBM System x3650 M4 Type 7915
192 pages
IBM System x3500 M2 Type 7839
126 pages
IBM System x3550 M5 Type 5463
860 pages
IBM System x3550 M3 Type 4254
166 pages
IBM System x3250 M3 Type 4251
102 pages
IBM System x3650 M4 BD Type 5466
786 pages