EasyManua.ls Logo

ICMA S303 - P8: PWM and 0..10 V OUTPUT SETTINGS

ICMA S303
24 pages
Print Icon
To Next Page IconTo Next Page
To Next Page IconTo Next Page
To Previous Page IconTo Previous Page
To Previous Page IconTo Previous Page
Loading...
DIGITAL CONTROL UNIT FOR THERMAL
SOLAR SYSTEMS - Art. S303
DIGITAL CONTROL UNIT FOR THERMAL
SOLAR SYSTEMS - Art. S303
ICMA S.p.a. - Heating Technologies - www.icmaspa.it FIS303ENCL - 01/2022
Icma SpA - Via Garavaglia, 4 - 20012 Cuggiono (MI) ITALY Tel: +39 02 97249134 - +39 02 97249135
www.icmaspa.it - sales@icmaspa.it
17
15
TDST24M100SE 035912 111220
P8: PWM and 0..10V OUTPUT SETTINGS
With this parameter you can change the settings which
control the pump connected to the PWM or 0..10V output
of the control unit.
AFTER SELECTING PARAMETER P8 PRESS
THE ‘ ‘ KEY.
WITH ARROWS ‘ ‘ OR ‘ ‘, YOU CAN CYCLE AMONG
THE FOLLWOWING THERMAL DATA FOR REGULATION:
- Type of pump connected ‘ PUMP ‘
- Operating mode logic ‘ MODO ‘
- Pump speed control time ‘ TIME ‘
- Fixed point temperature control ‘ T_FT ‘
In the following are listed the parameters whose default
value varies depending on whether the parameter
‘ PUMP ’ is set to ‘ REV ’ (PWM1 / R010V) or ‘ NOR ’
(PWM2 / N010V):
- % PWM to turn the pump off ‘ %OFF ‘
- % PWM to turn the pump on and
drive it at maximum speed ‘ %ON ‘
- % PWM to drive the pump
at maximum speed ‘ %MAX ‘
- Pump ow with PWM = %ON ‘ %FMN ‘
- 0V .. 10V voltage level to turn the pump off ‘ VOFF ‘
- 0V .. 10V voltage level to turn the pump on
and drive it at minimum speed ‘ VON ‘
- 0V .. 10V voltage level to drive the pump at
Maximum speed with 100% ow VMAX ‘
- Pump ow with 0..10V = VON ‘ VFMN ‘
PRESS THE ‘ ‘ KEY TO MODIFY THE THERMAL DATA
SELECTED; THE DATA WILL START FLASHING.
USE THE ‘ ‘ OR ‘ ‘ ARROWS TO SET THE
DESIRED NUMERIC VALUE.
PRESS THE ‘ ‘ KEY TO CONFIRM THE
PROGRAMMING OR PRESS THE ‘ esc ’ KEY TO CANCEL
THE CHANGES.
In the following the regulation ranges allowed for each
parameter are listed.
Setting the connected pump functioning logic
Data Regulation range Default
PUMP REV .. NOR NOR
Settings details
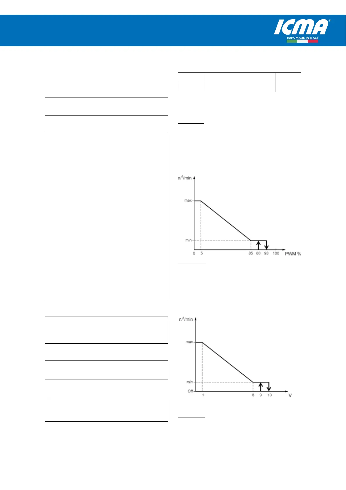
‘REV’ setting
PWM output:
The pump connected on the PWM output works according to
the “PWM1“ standard, or heating logic, also said ‘reversed’.
With the PWM output at minimum value (0%) the pump runs
at full speed, while with the PWM output at maximum value
(100%) the pump runs at minimum speed. Of course the
pump will operate to all the intermediate speeds through the
modulation of the PWM signal between 0% and 100%.
0..10V output:
The pump connected on the 0..10V output works according
to the 0V .. 10V ‘reversed’ standard (R010V). With the 0V
..10V output at minimum value (0V) the pump runs at full
speed, while with the 0V ..10V output at maximum value
(10V) the pump runs at minimum speed. Of course the pump
will operate to all the intermediate speeds through the
modulation of the 0 .. 10V signal between 0V and 10V.
‘NOR’ setting
PWM output:
The pump connected on the PWM output works according
to the “PWM2“ standard, or solar logic, also said ‘normal’.
With the PWM output at minimum value (0%) the pump runs