EasyManua.ls Logo

IDEAL 2445

IDEAL 2445
576 pages
To Next Page IconTo Next Page
To Next Page IconTo Next Page
To Previous Page IconTo Previous Page
To Previous Page IconTo Previous Page
Loading...
- 16 -
IDEAL 2445 • IDEAL 2465
2.
1.
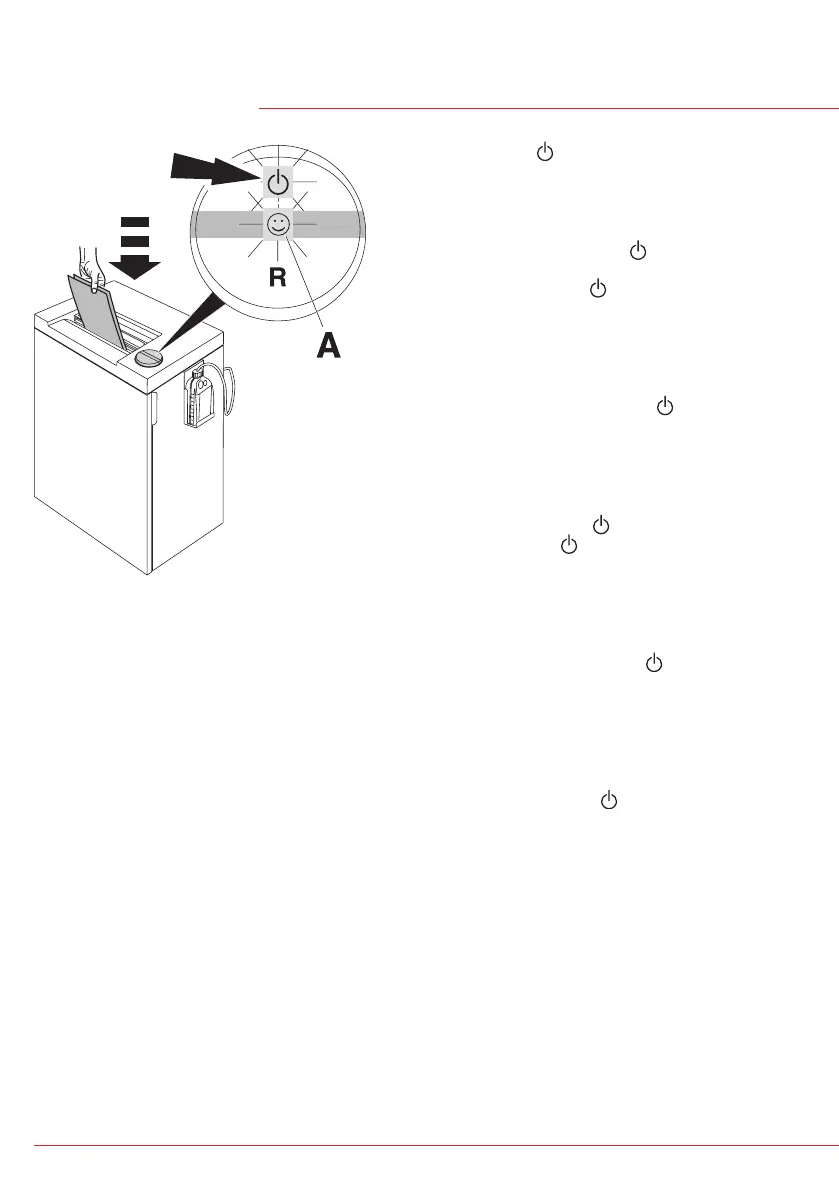
DE Schalter drücken (1.) : grünes Licht
leuchtet, Maschine betriebsbereit. Autom.
Anlauf bei Papierzufuhr (2.). Autom.
Standby - Abschaltung nach 30 Minuten.
Maschine kann jederzeit durch 2 sec.
langes Drücken des
Schalters
ausgeschaltet werden. Grüne
Kontrollleuchte
erlischt. Danach
verbraucht die Maschine keinen Strom
mehr. Alle Maschinen haben eine
SSC - Anzeige (Smart Shred Control)
zur Leistungsanzeige beim Vernichten
des Papiers (A).
EN Press the rocker switch
(1.) : green
light is on, the machine is now ready
for operation. Starts automatically when
paper is inserted (2.). Automatic standby
that switches off after 30 minutes. The
machine can be switched off at any time
by pressing the
switch for 2 seconds.
Green LED
control light is off.There will
be no power consumption any more.
Note: All machines have an SSC-
Display (Smart Shred Control) which
indicates the used sheet capacity during
shredding process (A).
FR Appuyer sur la touche
. Le voyant vert
indique que la machine est prête à
fonctionner. Mise en route automatique
lors de l’introduction du papier (2.).
Mise en veille automatique après
30 minutes. La machine peut être arrêtée
à tout moment en appuyant 2 secondes
sur l‘interrupteur
. Le voyant vert s
’éteint. Ceci permet une économie
d’énergie.
Note : Tantes les machines dispose
d’un contrôle de capacité électronique
(SSC) indiquant la capacité lors de la
destruction du papier (A).
• Bedienung • Operation • Utilisation •

Related product manuals