EasyManua.ls Logo

IDEAL 2603/2 SM/C - Oil Bottle Replacement; Procedure for Changing Oil Bottle

IDEAL 2603/2 SM/C
40 pages
Print Icon
To Next Page IconTo Next Page
To Next Page IconTo Next Page
To Previous Page IconTo Previous Page
To Previous Page IconTo Previous Page
Loading...
- 14 -
IDEAL 2603/2 • IDEAL 2604 - Oil • IDEAL 2605 - Oil
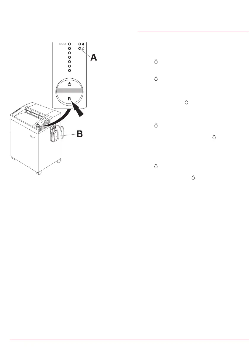
D Wenn der Ölbehälter (B) gewechselt
wurde:
auf Schalter "R" drücken, solange bis
LED
(A) nicht mehr rot blinkt.
GB When the oil bottle (B) is changed:
Press the rocker switch "R" until the
LED
(A) no longer blinks red.
F Lorsque le récipient d’huile (B) a été
changé :
Appuyer sur la touche "R" jusqu’à ce
que la LED rouge
(A) ne clignote
plus.
NL Als het oliereservoir (B) is verwisseld:
op "R" schakelaar drukken totdat
LED
(A) niet meer rood oplicht.
I Quando si cambia la bottiglia d’olio (B).
Premere "R" fino a che il LED
(A) non
lampeggia piu’ la luce rossa.
E Cuando se cambie la botella de aceite (B):
presionar "R" hasta que deje de
parpadear en rojo el indicador
LED
(A).
S När oljebehållaren (B) är utbytt:
tryck "R" till dess att
(A) inte längre
blinkar rött.
Bedienung
Operation
Utilisation
Bediening
Istruzioni per l´uso
Funcionamiento
Handhavande

Related product manuals