EasyManua.ls Logo

IDEAL 4205 - Cutting Depth Adjustment (Continued); Dutch Cutting Depth Check; Spanish Cutting Depth Check; Blade Cover Safety Warning

IDEAL 4205
48 pages
Print Icon
To Next Page IconTo Next Page
To Next Page IconTo Next Page
To Previous Page IconTo Previous Page
To Previous Page IconTo Previous Page
Loading...
- 36 -
IDEAL 4205
Messer u. Schnittleistenwechsel
Blade and cutting stick replacement
Changement de lame et de réglette
Vervangen van het mes en de snijlat
Sostituzione lama di taglio
Cambio cuchilla y cuadradillo
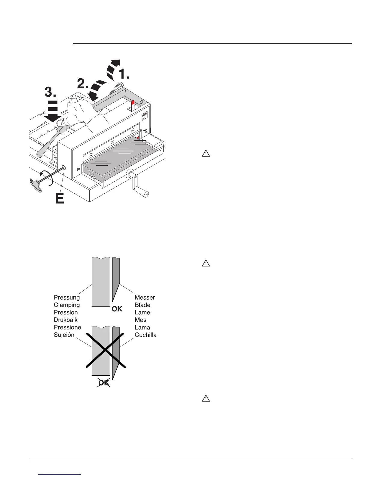
NL Snijdiepte nakijken:
Openen de klem door de klemhandel naar
rechts te doen (1.) Verwijder alle
gereedschap en leg 1 vel papier langs de
volledige snijlengte.
Bladhandel tot de aanslag naar
beneden duwen (2.).
Door een licht druk op de meshandel (3.)
de mesdiepte-instelling (E) zo lang naar
links (+) draaien, totdat het papier over
de volle breedte doorgesneden wordt.
(1draai = 1,5 mm)
!!! GEVAAR !!!!
Mes moet altijd beschermt zijn door de
persbalk (zie tekening links onder) kans
op letsel !
I Controllare la profondità di taglio:
Aprire il pressino ruotando la ruota a
sinistra (1.). Rimuovere tutti gli utensili e
mettere un foglio sotto tutta la lama.
Abbassare la lama fino a fondo corsa (2.)
Premere leggermente la leva (3.) e ruotare
la vite di regolazione della lama (E) a
sinistra (+) fino a che la il foglio non viene
tagliato in tutta la sua lunghezza.
(1 giro = 1,5 mm)
Attenzione!
La lama deve essere sempre coperta
dalla barra di bloccaggio rischio di
infortunio! (Vedi figura a lato).
E Comprobar la profundidad del corte:
Abrir el pisón girando la palanca hacia la
derecha (1.). Retirar todas las
herramientas y colocar 1 hoja de papel a
lo largo de toda la longitud de corte.
Bajar la palanca de la cuchilla hasta el
tope (2.).
Girar el ajuste de la cuchilla (E) hacia
la izquierda (+) presionando al mismo
tiempo ligeramente la palanca de la
cuchilla (3.), hasta que el papel quede
cortado en su totalidad
(1 giro = 1,5 mm).
Peligro!
La cuchilla debe estar siempre cubierta
por el pisón ¡Peligro de hacerse daño!
(Ver la figura de la izquierda).

Related product manuals