EasyManua.ls Logo

IDEAL 4305 - Checking and Adjusting Cutting Depth; Cutting Depth Safety

IDEAL 4305
32 pages
Print Icon
To Next Page IconTo Next Page
To Next Page IconTo Next Page
To Previous Page IconTo Previous Page
To Previous Page IconTo Previous Page
Loading...
- 22 -
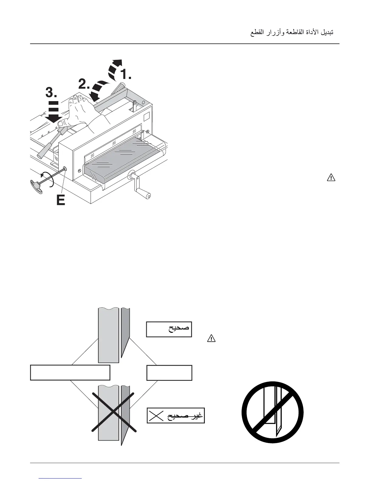
Check the cutting depth:
Open the clamp by moving the
clamp lever to the right (1.).
Remove all tools and place sheets of
paper along the entire cutting length.
• Lower the blade lever as far as it will
go (2.).
• Press the blade holder (3.) lightly and
turn the knob for blade depth
adjustment (E) to the left (+) until
the paper is cut along the entire width.
(1 turn = 1,5 mm)
Danger!
Blade must always be covered by
the clamping bar. Risk of injury!
(see picture below on the left).
Clamping
Blade
OK
OK
Blade
Γήϔη
Clamping
ςϐπϟ΍ ΔϣΎϋΩ
OK
OK
ϊτ
Ϙϟ΍ ϖϤϋ ϖΤϓ:
ϐπϟ΍ Γ΍
Ω΃ ΢Θϓ΍ϊοϮΑ Ϣϗ ˬς
ϦϴϤϴϟ΍ ΔϬΟ ςϐ
πϟ΍ ω΍έΫ)1.(.
Δϗ
έϭ ϊοϮΑ Ϣϗϭ Ε΍ϭΩϷ΍ ϊϴϤΟ ΪόΑ΍
ϊτ
Ϙϟ΍ ϝΎΠϣ νήϋ ϞϣΎϛ ϰϠϋ ΓΪΣ΍ϭ ΔϴτΑ.
ΰΟΎΤϟ΍ ϰϟ· ϝϮλϮϟ΍ ϰΘΣ ϞϔγϷ΍ ϰϟ· ϦϴϜδϟ΍ ω΍έΫ ϙήΣ)2.(.
ϒϠΑ Ϣϗ ˬϦϴϜδ
ϟ΍ ω΍έΫ ϰϠϋ ϒϴϔΨϟ΍
ςϐπϟ΍ ϝϼΧ Ϧϣ
ϦϴϜδϟ΍ ϖϤϋ Ω΍
Ϊϋ· Γ΍Ω΃)E) (.3(.
ϮΤϧ
˱
ϻϮτϣ έΎδϴϟ΍ (+)νήόϟ΍ ϞϣΎϛ ήΒϋ ΔϗέϮϟ΍ ϊτϗ ϢΘϳ ϥ΃ ϰϟ·.
)1 Δϔϟ =1.5Ϣϣ (
X ήϳάΤΗ!
Ύ
˱
Ϥ΋΍Ω ϦϴϜδϟ
΍ ΔϴτϐΗ ϢΘϳ ϥ΃ ΐΠϳ
ςϐπϟ΍ ΰΟ΍ϮΣ ϝϼΧ Ϧϣ!
Ρϭ
ήΠΑ ΔΑΎλϹ΍ ήτΧ!
) έϮμϟ
΍ ήψϧ΍ϩΎϧΩ΃
ΔϬΟέΎδϴϟ΍ (
Blade and cutting stick replacement

Related product manuals