EasyManua.ls Logo

IDEAL 4315 - Page 34

IDEAL 4315
44 pages
Print Icon
To Next Page IconTo Next Page
To Next Page IconTo Next Page
To Previous Page IconTo Previous Page
To Previous Page IconTo Previous Page
Loading...
- 34 -
IDEAL 4315 • IDEAL 4350
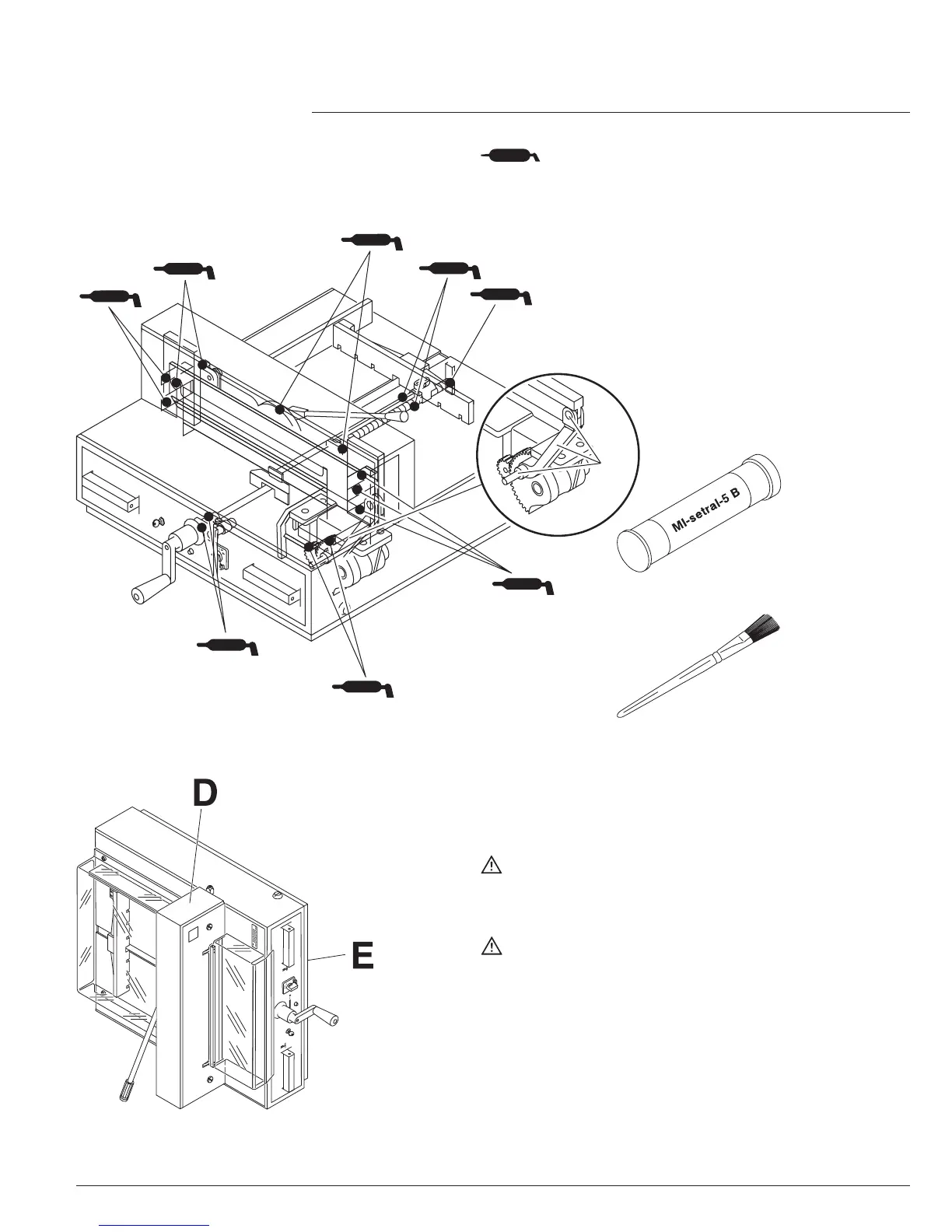
A
B
F
Nr. 9003 233
Nr. 9001 828
Blade and cutting stick replacement
Grease the backgauge (A) control weekly.
(Use non-resinous grease).
Grease the remaining parts (B) twice a year
(see picture).
Danger! Disconnect the mains before
starting any service work or before
removing the cover.
Put the machine on its left side.
Danger! of tilting!
Remove cover (C) and lower panel (D) (tools
in tool set).
Remove remaining paper
Grease the machine
Check the two joining bolts and
pushing bar for wear. (F). If necessary
inform your service personnel.
Mount the machine.
= Greasing points on the machine.

Related product manuals