EasyManua.ls Logo

IDEAL 4850-95 - Page 38

IDEAL 4850-95
52 pages
Print Icon
To Next Page IconTo Next Page
To Next Page IconTo Next Page
To Previous Page IconTo Previous Page
To Previous Page IconTo Previous Page
Loading...
Blade and cutting stick replacement
IDEAL 4810-95 • IDEAL 4850-95/EP • IDEAL 5221-95EP • IDEAL 6550-95EP
A
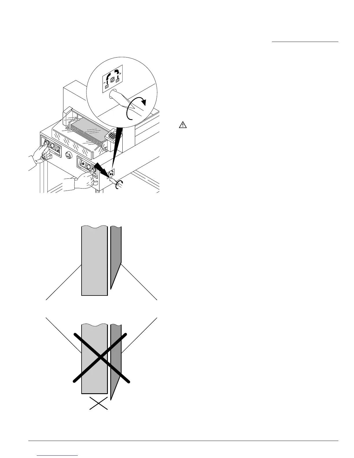
Paper cutting test. If the last sheet or several
sheets are not completely cut, gradually turn
the knob for blade depth adjustment (A)
¼ turn to the right until the paper is cut along
the entire length. Do not set too low as blade
will become blunt sooner.
Warning by IDEAL 4810-95
Danger!
Blade must always be covered by the
pressing bar (see picture below at the left).
OK
Clamping
Blade
OK
- 38 -
http://www.monomachines.com
http://www.monomachines.com

Related product manuals