EasyManua.ls Logo

IDEAL 5221-95EP

IDEAL 5221-95EP
52 pages
To Next Page IconTo Next Page
To Next Page IconTo Next Page
To Previous Page IconTo Previous Page
To Previous Page IconTo Previous Page
Loading...
Safety precautions
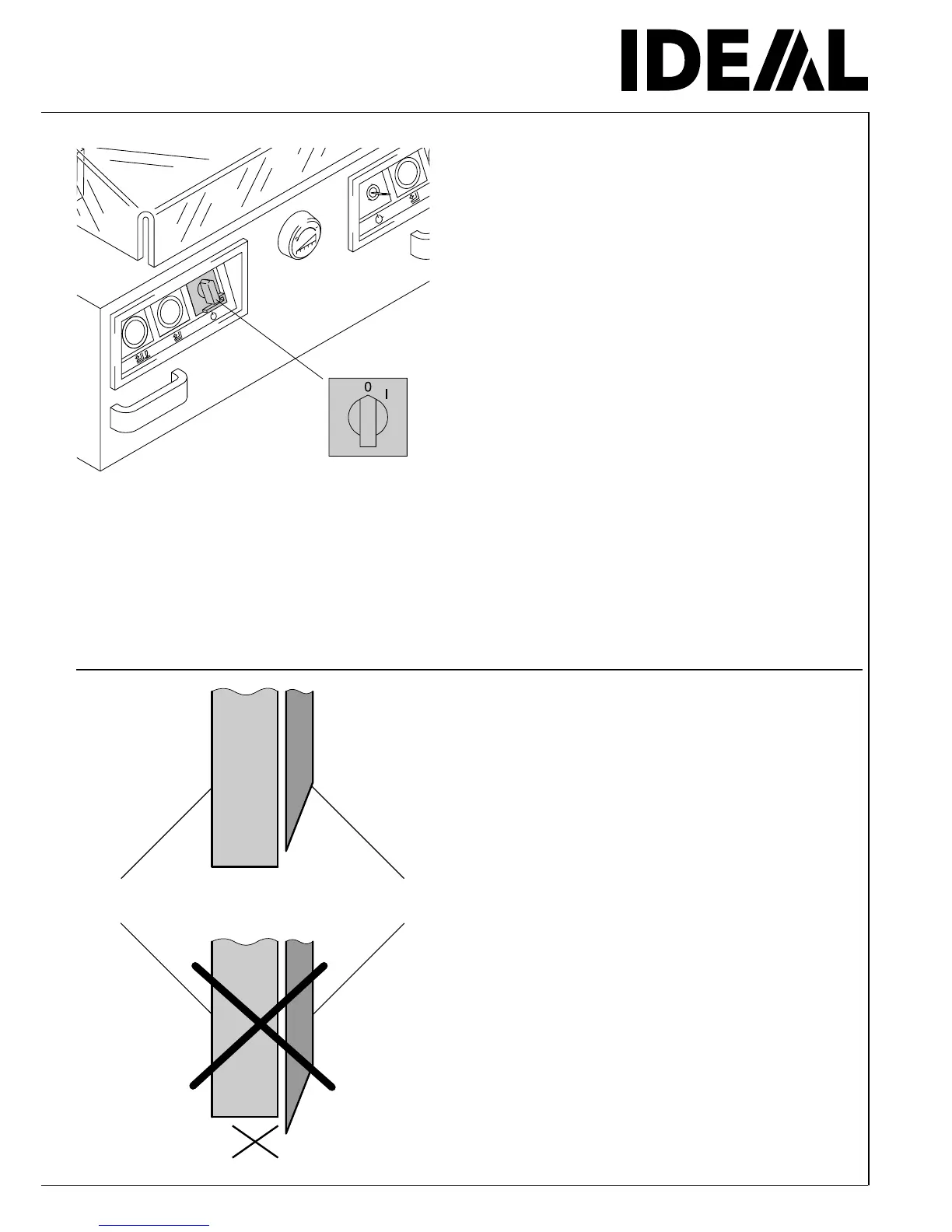
When not in use for a longer period switch off.
(Main switch to "0").
OK
Clamping
Blade
OK
- 11 -
http://www.monomachines.com
http://www.monomachines.com

Related product manuals