EasyManua.ls Logo

IDEC MICROSmart FC6A-C24R1CE - Page 128

IDEC MICROSmart FC6A-C24R1CE
662 pages
Print Icon
To Next Page IconTo Next Page
To Next Page IconTo Next Page
To Previous Page IconTo Previous Page
To Previous Page IconTo Previous Page
Loading...
2: P
RODUCT
S
PECIFICATIONS
2-92 FC6A S
ERIES
MICROS
MART
U
SER
S
M
ANUAL
FC9Y-B1722
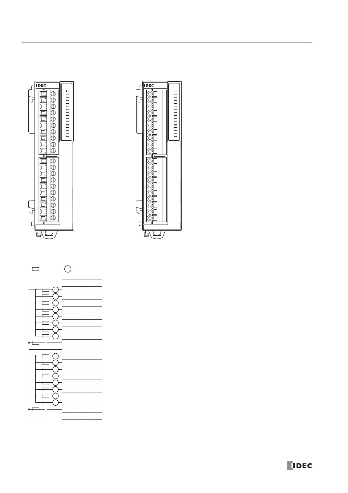
FC6A-T16K1, FC6A-T16K4
The two COM(-) lines are each connected in the module.
The two +V lines are each connected in the module.
For wiring precautions, see "Input/Output Wiring" on page 3-18.
Insert a fuse that corresponds to the load.
*1 24V DC for products with a version number lower than V400. For details on the version number of modules, see "Checking the Version Number"
on page 2-1.
Screw fastened type: FC6A-T16K1 Push-in type: FC6A-T16K4
Applicable connector: FC6A-PMTC10PN02 Applicable connector: FC6A-PMSC10PN02
0
1
2
3
4
5
6
7
10
11
12
13
14
15
16
17
Tr.OU T
FC6A-T16K1
+V
COM(-)
17 16 15 14 13 12 11 10 +V
COM(-)
76543210
0
1
2
3
4
5
6
7
10
11
12
13
14
15
16
17
Tr.OU T
FC6A-T16K4
+V
COM(-)
17 16 15 14 13 12 11 10 +V
COM(-)
76543210
: Fuse : Load
L
1
0 Q0
Q1
Q2
Q3
COM(-)
Q4
Q5
Q6
2
3
COM(-)
+V
+V
4
5
6
7
Q7
11
10 Q10
Q11
Q12
Q13
COM(-)
Q14
Q15
Q16
12
13
COM(-)
+V
+V
14
15
16
17
Q17
Terminal No.
I/O
L
L
L
L
L
L
L
L
-
+
L
L
L
L
L
L
L
L
-
+
12/24V DC
*1
12/24V DC
*1

Table of Contents

Other manuals for IDEC MICROSmart FC6A-C24R1CE

Related product manuals