EasyManua.ls Logo

iflo Cascada - Pedestal Installation; Ensure Flat Surface Installation; Mark Pedestal Position; Drill Floor Mounting Holes

iflo Cascada
3 pages
Print Icon
To Next Page IconTo Next Page
To Next Page IconTo Next Page
To Previous Page IconTo Previous Page
To Previous Page IconTo Previous Page
Loading...
Please read these instructions prior to installation.
These instructions must be carried out in order.
1) Use this checklist to ensure all parts are accounted for and not damaged. Under no circumstances should this product
be installed if any of the parts are damaged or missing. In the unlikely case that there are any installation issues please
contact your nearest store. Please note that the fixing kit for this installation must be purchased separately.
Item Description Qty.
1 Plastic Wall Plug 2
2 Metal Washer 2
3 Screw 4 x 73mm 2
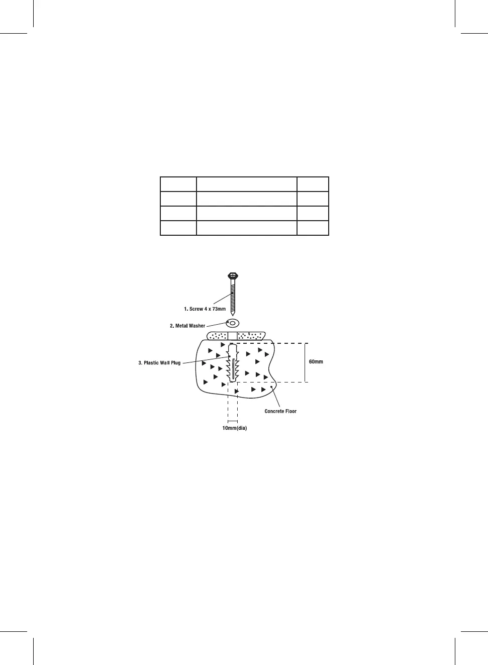
Caution: Care should be taken when drilling floors to avoid any sunken wires or pipes.
2) The Pedestal must be Installed onto a flat surface.
3) Position Pedestal in its installed place and mark the floor through the holes in the Pedestal.
4) If installing on a concrete floor, drill 2 x 10mm holes approximately 60mm deep. If installing on a wooden floor, drill 2 x
4mm pilot holes approximately 40mm deep.
5) If installing the Pedestal onto a wooden floor go to line 6. If installing on a concrete floor push the Plastic Plug (1) into the
holes to be flush with tile floor surface.
6) Put the Screw (3) through the Metal Washer (2) and screw through tile Pedestal holes into the Wall Plug (1).
Caution: Do not overtighten, as this may damage the ceramic.
PEDESTAL INSTALLATION (OPTIONAL)
2

Related product manuals