EasyManua.ls Logo

IKEA FINSMAKARE

IKEA FINSMAKARE
64 pages
To Next Page IconTo Next Page
To Next Page IconTo Next Page
To Previous Page IconTo Previous Page
To Previous Page IconTo Previous Page
Loading...
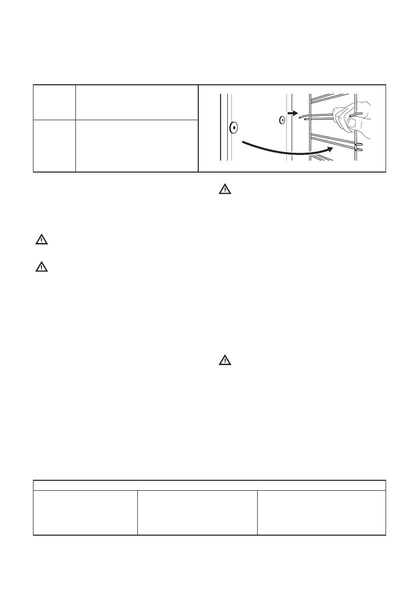
Étape 3 Écartez l'arrière du support de
grille de la paroi latérale et re‐
tirez-le.
2
1
Étape 4 Installez les supports de grille
dans l'ordre inverse.
Comment utiliser : Nettoyage par
pyrolyse
Nettoyez le four avec Nettoyage par
pyrolyse.
AVERTISSEMENT! Risque de
brûlure.
AVERTISSEMENT! Assurez-vous
que tous les animaux
domestiques (en particulier les
oiseaux) sont emportés aussi loin
que possible de l’emplacement de
l’appareil pendant et après le
nettoyage par pyrolyse et le
fonctionnement à température
maximale lors de la première
utilisation. Les conserver dans
une pièce diérente serait l’option
préférée pendant le cycle
pyrolytique et jusqu’à ce que
l’appareil ait refroidi à nouveau
jusqu’à température ambiante.
Une bonne ventilation doit être
assurée pendant et après les
opérations du cycle pyrolytique et
du premier cycle d’utilisation à
température maximale (jusqu’au
refroidissement de l’appareil).
AVERTISSEMENT! Avant
d’eectuer une fonction
d’autonettoyage par pyrolyse ou
la fonction Première utilisation,
veuillez retirer de la cavité du
four :
Tout résidu alimentaire
excessif, déversement d’huile
ou de graisse ou dépôt.
Tous les objets amovibles (y
compris les grilles, les rails
latéraux, et autres éléments,
fournis avec le produit), en
particulier les casseroles,
plateaux, plaques, ustensiles,
et autres équipements
antiadhésifs.
ATTENTION! Si un autre appareil
est installé dans le même meuble,
ne l’utilisez pas en même temps
que cette fonction. Vous
risqueriez d’endommager le four.
Avant le Nettoyage par pyrolyse :
Éteignez le four et atten‐
dez qu’il soit froid.
Retirez les accessoires . Nettoyez la sole du four et la vi‐
tre interne de la porte avec de
l’eau tiède, un chion doux et
un détergent doux.
FRANÇAIS 39
Pour télécharger la version complète, rendez-vous sur le site www.ikea.com

Other manuals for IKEA FINSMAKARE

Related product manuals