EasyManua.ls Logo

Ikegami HTM-1550R - Page 40

Ikegami HTM-1550R
153 pages
Print Icon
To Next Page IconTo Next Page
To Next Page IconTo Next Page
To Previous Page IconTo Previous Page
To Previous Page IconTo Previous Page
Loading...
'
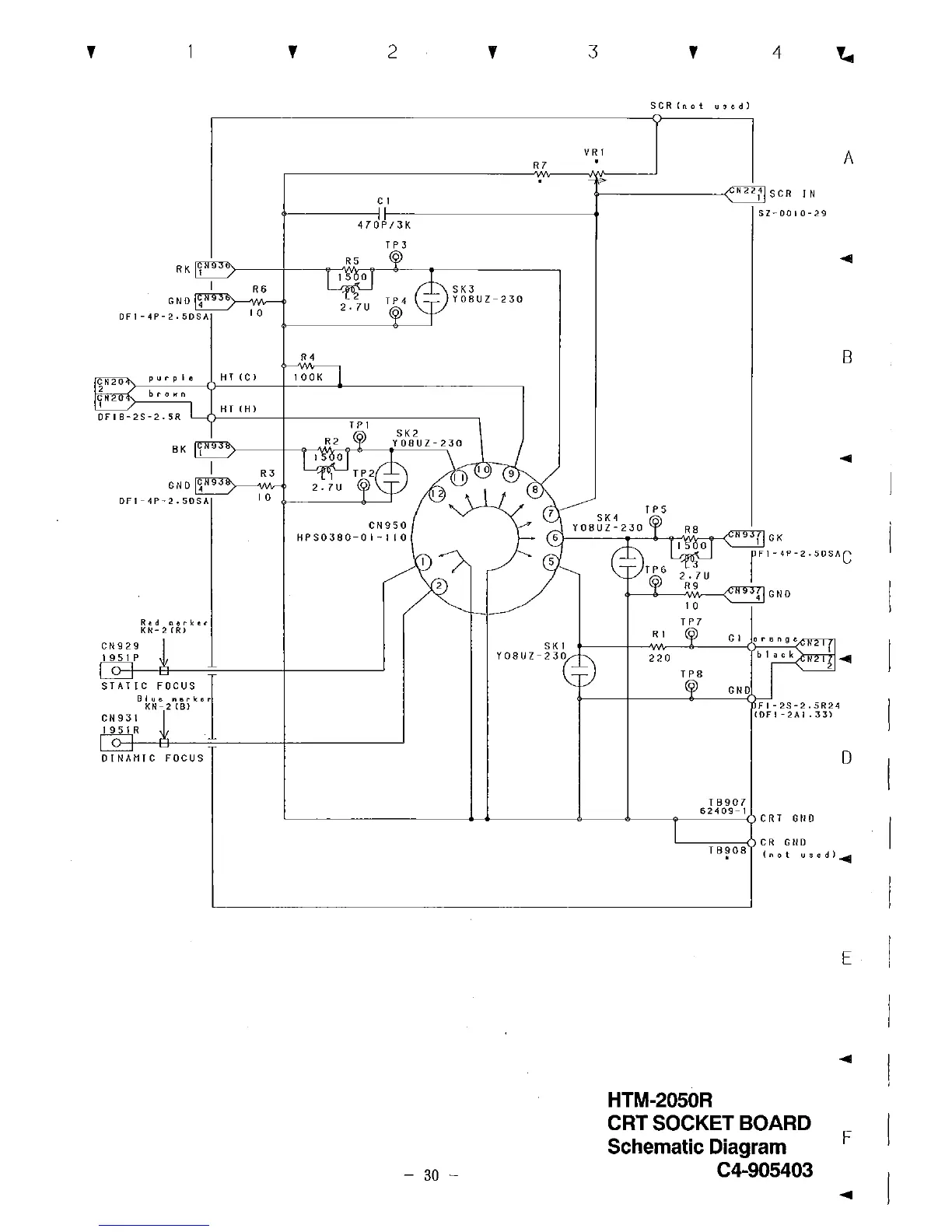
RK 1
GNO l
DF1-4P-2,5DSA
purple
b r o w n
OFI B-2S-2. SR
BK
R~d 1:1.erk~,
KN- 2 CRI
OTNAMIC FOCUS
R6
10
HT CC I
HT CH)
RJ
10
'
R4
100K
2
Cl
470P/3K
TP3
'
SKJ
YOBUZ-230
R7
3
VR I
'
4
SCR {not u3edl
N
22
f SCR J N
SZ-0010-29
A
B
CN950
HPS0380-0 1-1 I 0
)-----.---l>---<rc-'6',-c-~,(_"N 9 J: r GK
SKI
YOBUZ-230
RI
220
10
TP7
TP8
GI
GND
1B907
62409-1
rf1-4P-2-50SAC
Fl-2S-2.5R24
COF1-2Al.33)
D
~-------------+--.-----~>---_._--~-----<>CRT GNO
- 30 -
'----~~CR GND
1B908
* (not used)
HTM-2050R
CRT SOCKET BOARD
Schematic Diagram
C4-905403
E
F

Related product manuals