EasyManua.ls Logo

Image IMBE39401 - Page 8

Image IMBE39401
22 pages
Print Icon
To Next Page IconTo Next Page
To Next Page IconTo Next Page
To Previous Page IconTo Previous Page
To Previous Page IconTo Previous Page
Loading...
8
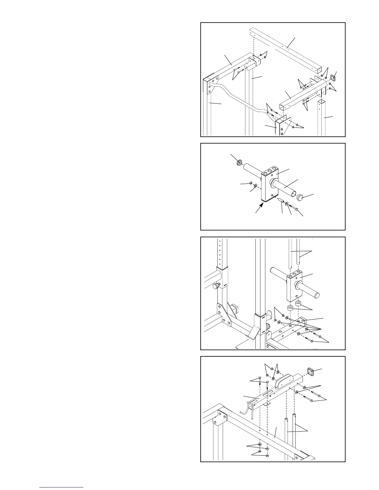
8. Insert the two Weight Guides (9) into the Weight
Guide Base (4). Attach the Weight Guides using
two M8 x 72mm Bolts (33), four M8 Washers (36),
and two M8 Nylon Locknuts (30).
Slide the two Weight Bumpers (18) and the Weight
Carriage (15) over the Weight Guides (9). Be sure
the Weight Bumpers are on the bottom.
7. Press the two 51mm Round Inner Caps (42) into
the weight tubes on the Weight Carriage (15).
Make sure the Weight Carriage is turned so the
weight tubes are near the top, as shown. Attach
the lower Carriage Bushing (16) to the Weight
Carriage (15) using a M10 x 66mm Bolt (35), two
M10 Washers (37), the 51mm Spacer (39), and a
M10 Nylon Locknut (29).
42
42
15
Weight Tube
35
37
39
37
16
29
6. Press a 60mm Square Inner Cap (28) into the Left
Frame (12). Attach the Left Frame to the left
Uprights (7, 8) using four M10 x 78mm Bolts (31)
and four M10 Nylon Locknuts (29). Do not tighten
the Nylon Locknuts yet.
Assemble the Right Frame (10) on the right
Uprights (7, 8) in the same manner.
Attach the Center Frame (11) to the Left Frame (12)
and the Right Frame (10) using four M10 x 78mm
Bolts (31) and four M10 Nylon Locknuts (29).
Tighten all Nylon Locknuts used in steps 1–6.
29
28
29
31
31
31
31
10
11
12
29
29
6
7
8
7
8
8
7
15
18
4
36
30
9
33
9
9. Press a 60mm Square Inner Cap (28) into the end
of the Weight Guide Frame (14).
Hold the Weight Guide Frame (14) on top of the
Center Frame (11) and the Weight Guides (9).
Attach the Weight Guides to the Weight Guide
Frame using two M8 x 72mm Bolts (33), four M8
Washers (36), and two M8 Nylon Locknuts (30).
Attach the Weight Guide Frame (14) to the Center
Frame (11) using two M10 x 78mm Bolts (31), two
M10 Washers (37), and two M10 Nylon Locknuts
(29).
31
37
11
14
29
9
33
36
28
36
30

Related product manuals