EasyManua.ls Logo

Infiniton CC56BWC - Ilustración de Amarre de Cadena; Panel de Mandos

Infiniton CC56BWC
Print Icon
To Next Page IconTo Next Page
To Next Page IconTo Next Page
To Previous Page IconTo Previous Page
To Previous Page IconTo Previous Page
Loading...
72
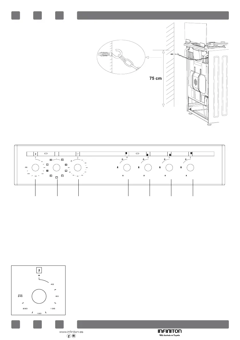
Ilustración De Amarre De Cadena
Antes de usar el artefacto, y a n de lograr
un uso seguro, no olvide sujetar el artefacto
al muro utilizando la cadena y el tornillo en
gancho provisto. Verique que el gancho esté
atornillado en el muro rmemente.
PANEL DE MANDOS
ADVERTENCIA: El panel de mandos de arriba es solo para nes ilustrati-
vos. Considere el panel de mandos en su dispositivo.
0
1 2 3 4 5 6 7
1. Termostato
2. Botón de selección de funciones
3. Temporizador mecánico
4. Calentador trasero derecho
5. Calentador delantero izquierdo
6. Calentador delantero derecho
7. Calentador trasero derecho
Termostato: Se usa para determinar la temperatura
de cocción del plato a cocinar en el horno. Después
de colocar la comida dentro del horno, gire el
interruptor para ajustar la temperatura deseada entre
40-240 °C. Para las temperaturas de cocción de
diferentes alimentos, vea la tabla de cocción.
ES

Table of Contents

Related product manuals