EasyManua.ls Logo

Infiniton CC56BWC - Chain Lashing Illustration; Control Panel

Infiniton CC56BWC
Print Icon
To Next Page IconTo Next Page
To Next Page IconTo Next Page
To Previous Page IconTo Previous Page
To Previous Page IconTo Previous Page
Loading...
28
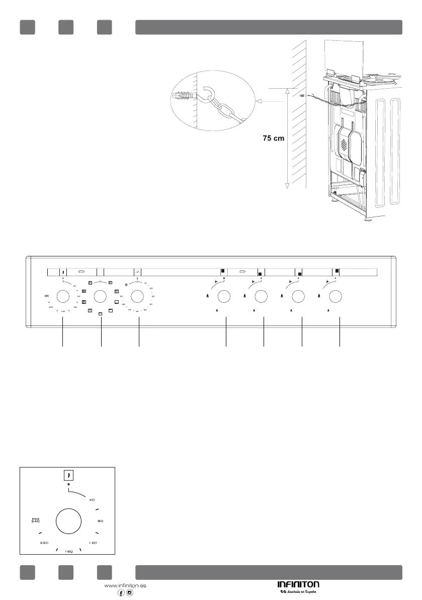
Chain lashing illustration
Before using the appliance, in order to ensure
safe use, be sure to x the appliance to the wall
using thechain and hooked screw supplied.
Ensure that the hook is screwed into the wall
securely.
CONTROL PANEL
WARNING: The control panel above is only for illustration purposes.
Consider the control panel on your device.
1. Thermostat
2. Function selection button
3. Mechanical timer
4. Rear left heater
5. Front left heater
6. Front right heater
7. Rear right heater
1 2 3 4 5 6 7
0
Thermostat: Used for determining the cooking temperature
of the dish to be cooked in the oven. After placing
the food inside the oven, turn the switch to adjust
desired temperature setting between 40-240 °C.
For cooking temperatures of different food, see cooking
table.
GB

Table of Contents

Related product manuals