EasyManua.ls Logo

Inoxtrend GCA-304E2 - Page 15

Inoxtrend GCA-304E2
40 pages
Print Icon
To Next Page IconTo Next Page
To Next Page IconTo Next Page
To Previous Page IconTo Previous Page
To Previous Page IconTo Previous Page
Loading...
15
USO E MANUTENZIONE
AVVERTENZE PER L’USO SICURO DEL FORNO
Assicurarsi che il forno sia in posizione stabile e che i dispositivi di protezione installati a monte dell’aparecchio
siano ecienti.
Utilizzare sempre adeguati guanti protettivi per introdurre e/o estrarre le teglie.
Porre sempre la massima attenzione al pavimento, che a causa del vapore prodotto durante le cotture potrebbe
essere scivoloso.
Al ne di evitare scottature non utilizzare teglie e contenitori con liquidi o uidi nei livelli superiori a quelli che
possono essere facilmente controllati a vista.
Non appoggiare teglie o altri attrezzi da cucina sopra il forno.
Far eseguire periodicamente un controllo al servizio tecnico e sostituire eventuali particolari danneggiati che
potrebbero alterare il corretto funzionamento del forno o costituire condizione di pericolo.
Pulire frequentemente il forno seguendo le indicazioni riportate in questo manuale.
CARICO MASSIMO DI ALIMENTI
Numero di teglie Carico massimo
4 x 460x340 8 kg
4 x 2/3 GN 8 kg
4 x 60x40 12 kg
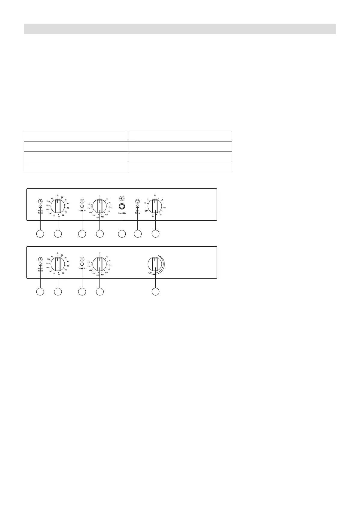
4.0 DESCRIZIONE COMPONENTI PANNELLO COMANDI
AB
C
D E
F
G
Modelli:
Convezione
Convezione con umidicazione
(con o senza grill).
AB
C
D H
Humidity
Modelli:
Convezione con vapore
A Termostato camera cottura. Campo di regolazione temperatura 50 - 270 °C
B Lampada spia riscaldamento camera cottura in funzione
C Timer. Regolazione da 0 a 120 minuti o funzionamento ininterrotto.
D Lampada spia timer in funzione
E Timer grillr (modelli con grill)
F Lampada spia timer grill in funzione (modelli con grill)
G Pulsante umidicazione manuale (modelli convezione con umidicazione)
H Regolazione vapore (modelli convezione con vapore)
4.5 AVVIAMENTO DEL FORNO
Aprire l’interruttore elettrico di protezione installato a monte dell’apparecchio e la valvola di intercettazione
dell’acqua, se il forno è dotato del sistema di umidicazione manuale. Selezionare il tempo di cottura sul timer
(C) che è regolabile no ad un massimo di 120 minuti. Per un funzionamentoi ininterrotto del forno, selezionare
la posizione ∞. L’inserimento del timer, con la porta chiusa, dà l’avvio al ciclo di cottura con l’avviamento dei
motoventilatori e l’attivazione del riscaldamento. Al termine del tempo impostato un segnale acustico avvertirà
la ne del ciclo di cottura con relativo arresto di tutte le funzioni. Nel selezionare il tempo di cottura occorre te-
nere sempre in considerazione il tempo necessario per preriscaldare il forno. E’ buona norma osservare questa
avvertenza prima di introdurre i cibi da cuocere nella camera di cottura.
4.6 SPEGNIMENTO DEL FORNO
Lo spegnimento del forno avviene selezionando con la manopola del timer la posizione 0.
IT