EasyManua.ls Logo

Inoxtrend GCA-304E2 - Emploi Et Maintenance; Description des Éléments du; Arrêt du Four

Inoxtrend GCA-304E2
40 pages
Print Icon
To Next Page IconTo Next Page
To Next Page IconTo Next Page
To Previous Page IconTo Previous Page
To Previous Page IconTo Previous Page
Loading...
27
EMPLOI ET MAINTENANCE
INSTRUCTIONS POUR L’UTILISATION SÛRE DU FOUR
S’assurer que le four est installé sur une position stable et que les dispositifs installés en amont de l’appareil
soient ecients.
Toujours utiliser des gants de protection pour introduire et extraire les bacs.
Faire attention au sol, parce que la vapeur de la cuisson peut le rendre glissant.
An d’éviter brûlures n’utiliser jamais des bacs ou des récipients avec liquides avec niveaux supérieurs à les-
quels, qui peuvent être contrôlé à vue.
Ne pas appuyer bacs ou autres ustensiles de cuisine sur le four.
Eectuer périodiquement un contrôle par le service technique et remplacer composantes endommagés, qui
peuvent altérer le fonctionnement correcte du four ou être état de danger.
Souvent nettoyer le four en suivant les instructions de ce notice.
CHARGEMENT MAX. DES ALIMENTS
Nombre de bacs Charge maximale
4 x 460x340 8 kg
4 x 2/3 GN 8 kg
4 x 60x40 12 kg
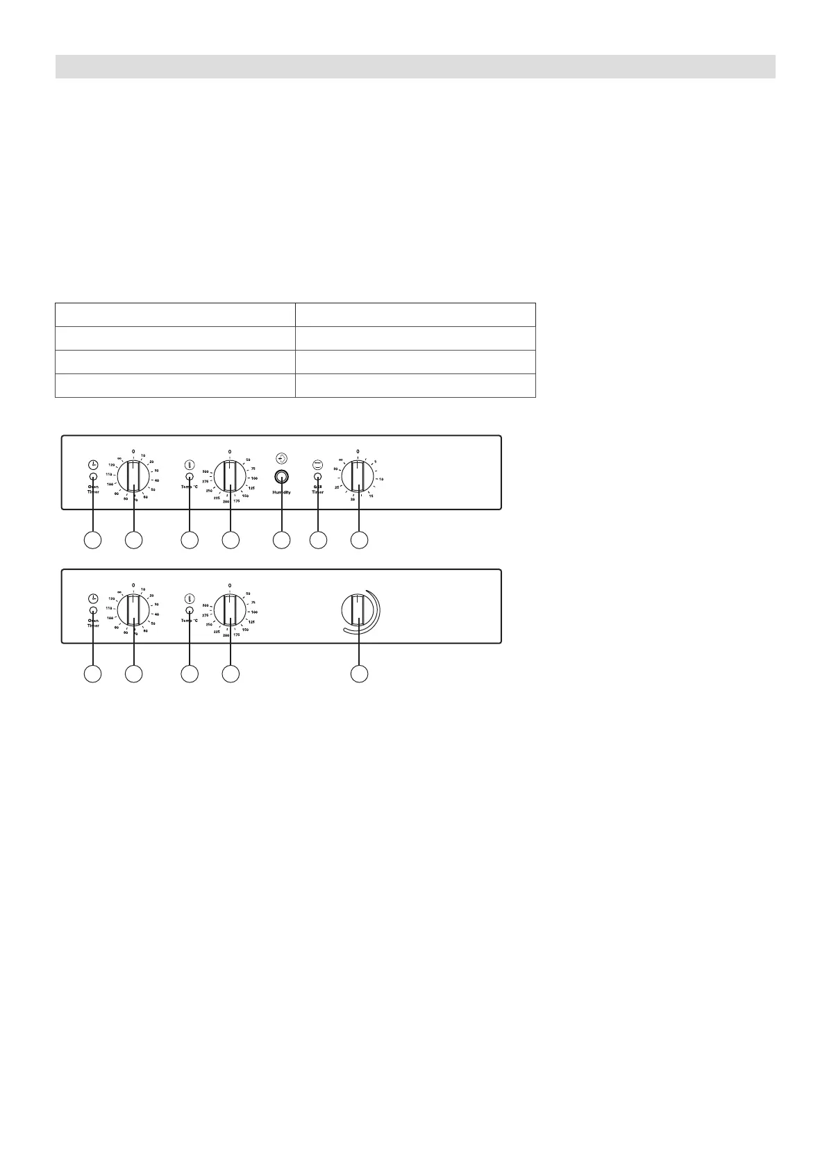
4.0 DESCRIPTION DES ÉLÉMENTS DU PANNEAU
AB
C
D E
F
G
Modèles:
Convection
Convection avec humidication
(avec ou sans grill).
AB
C
D H
Humidity
Modèles:
Convection avec vapeur
A Thermostat enceinte cuisson. Plage de température 50 - 270 °C
B Voyant chauage enceinte de cuisson en fonction
C Minuteur. Réglage de 0 à 120 minutes ou fonctionnement ininterrompu.
D Voyant minuteur en fonction
E Minuteur grill (modèles avec grill)
F Voyant minuteur grill en fonction (modèles avec grill)
G Bouton d’humidication manuelle (modèles convection avec humidication)
H Régulation de la vapeur (modèles convection avec vapeur)
4.5 MISE EN MARCHE
S’assurer que la vanne d’arrivée eau (si le four est équipé avec le système d’humidication manuel) et l’in-
terrupteur électrique de protection installé en amont de l’appareil soient ouverts. Choisir le temps de cuisson
avec la minuterie (C) qui est réglable jusqu’à un maximum de 120 min; pour des durées supérieures, choisir la
position (∞) de durée continue. La mise en marche de la minuterie, lorsque la porte est fermée, fait démarrer
le cycle de cuisson, le moto-ventilateur, le chauage et la génération de vapeur, si le cycle a été choisi. Lorsque
le temps programmé s’est écoulé, un signal acoustique annonce la n du cycle de cuisson et toutes les fonctions
s’arrêtent. En choisissant le temps de cuisson, il faut toujours tenir compte du temps nécessaire pour préchau-
er le four. Nous conseillons de préchauer le four avant d’introduire les aliments dans l’enceinte de cuisson.
4.6 ARRÊT DU FOUR
Le four s’éteint lorsqu’on met le bouton du minuteur sur la position 0.
FR

Related product manuals