EasyManua.ls Logo

Inoxtrend GCA-304E2 - Gebruik en Onderhoud; Beschrijving Van Componenten; Starten de Oven; Het Uitschakelen Van de Oven

Inoxtrend GCA-304E2
40 pages
Print Icon
To Next Page IconTo Next Page
To Next Page IconTo Next Page
To Previous Page IconTo Previous Page
To Previous Page IconTo Previous Page
Loading...
39
GEBRUIK EN ONDERHOUD
INSTRUCTIES VOOR EEN VEILIG GEBRUIK VAN DE OVEN
Controleer dat de oven op een stabiele plaats geïnstalleerd werd en dat de stroomopwaarts geïnstalleerde
beveiligingssystemen eciënt werken.
Gebruik steeds geschikte beschermende handschoenen om de ovenschalen in de oven te plaatsen of uit de
oven te halen.
Let ook steeds op de vloer, die door de stoom glad zou kunnen zijn.
Werk, om brandwonden te voorkomen, nooit met ovenschalen of andere houders die te vol of tot aan de rand
gevuld zijn met vloeistoen.
Plaats geen ovenschalen of andere keukenapparatuur op de oven.
Controleer de oven geregeld met de technische dienst en vervang eventuele beschadigde onderdelen die een
invloed kunnen hebben op de goede werking van de oven of een gevaar zouden kunnen vormen.
Reinig de oven regelmatig volgens de instructies in deze handleiding.
MAXIMALE VOEDSEL LOAD
Capaciteit Maximale load
4 x 460x340 8 kg
4 x 2/3 GN 8 kg
4 x 60x40 12 kg
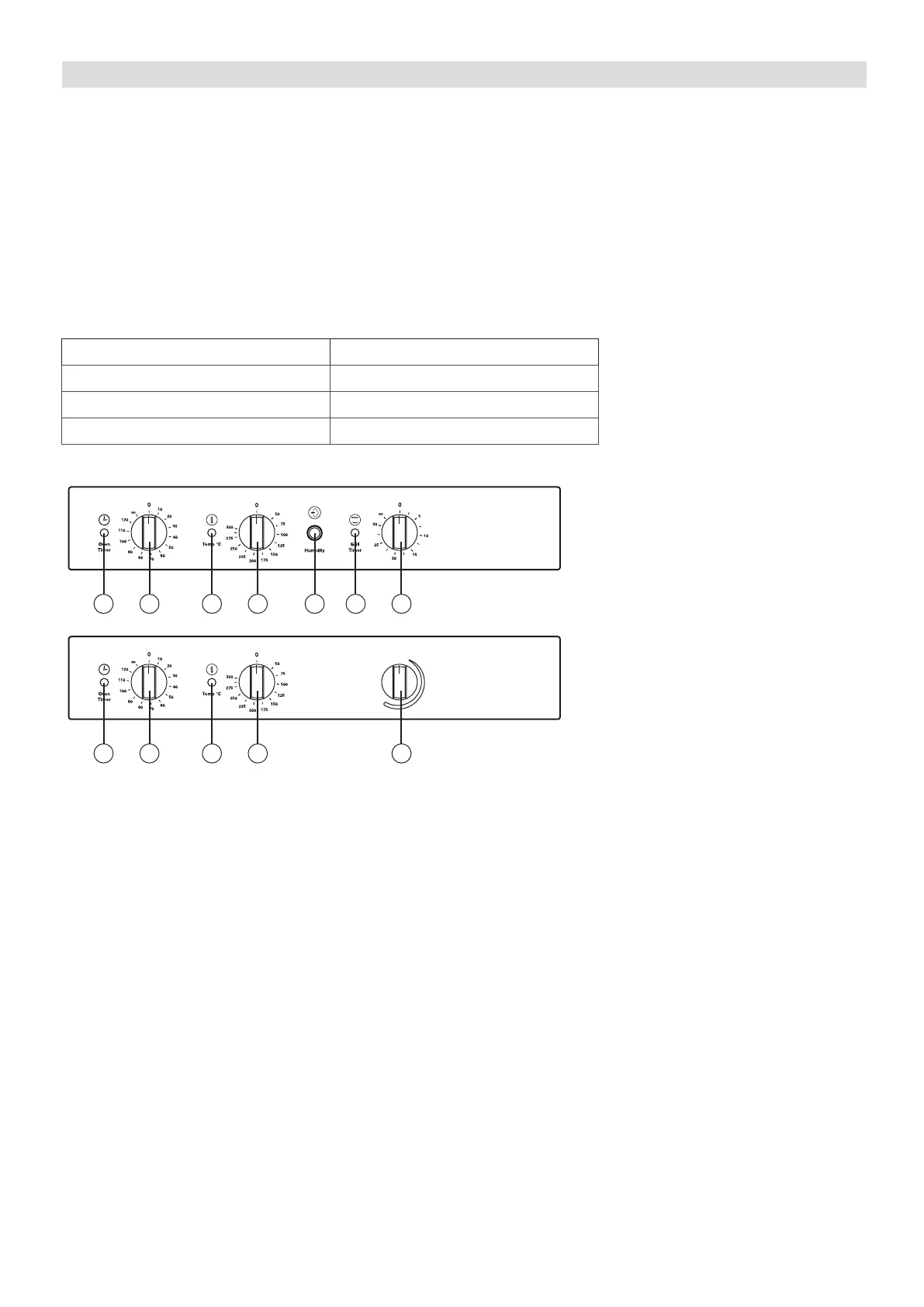
4.0 BESCHRIJVING VAN COMPONENTEN BEDIENINGSPANEEL
AB
C
D E
F
G
Modellen:
Convectie
Convectie met bevochtiging
(met of zonder grill).
AB
C
D H
Humidity
Modellen:
Convectie met stoom
A Thermostaat ovenruimte. Temperatuurbereik 50 - 270 °C
B Indicatielampje verwarming ovenruimte in werking
C Tijdklok. Aanpassing van 0 tot 120 minuten of ononderbroken werking.
D Indicatielampje tijdklok in werking
E Grill tijdklok (modellen met grill)
F Indicatielampje grill tijdklok in werking (modellen met grill)
G Handmatige bevochtigingsknop (modellen convectie met bevochtiging)
4.5 STARTEN DE OVEN
Open de wateraansluiting en de elektrische beschermingsschakelaar die op het apparaat is geïnstalleerd.
Selecteer de bereidingstijd met de tijdklok (C) welke kan worden ingesteld tot een maximum van 120 min.;
voor een langere tijd selecteert u de stand (∞) die onbeperkt duurt.
Nadat de tijdklok is ingesteld, met de deur dicht, start de ovenstand en zo ook de ventilatormotor, het verwar-
men en het genereren van stoom, indien geselecteerd. Wanneer de ingestelde tijd voorbij is zal een signaal
klinken dat het einde de bereidingstijd aangeeft en worden alle functies uitgeschakeld.
Bij het instellen van de bereidingstijd dient u altijd rekening te houden met de tijd die nodig is om de oven voor
te verwarmen. Let hier goed op alvorens het te bereiden voedsel in de ovenruimte te plaatsen.
4.6 HET UITSCHAKELEN VAN DE OVEN
De oven wordt uitgeschakeld door de tijdklok knop naar de 0-stand te draaien.
NL

Related product manuals