EasyManua.ls Logo

Inoxtrend GCA-304E2 - Page 33

Inoxtrend GCA-304E2
40 pages
Print Icon
To Next Page IconTo Next Page
To Next Page IconTo Next Page
To Previous Page IconTo Previous Page
To Previous Page IconTo Previous Page
Loading...
33
USO Y MANTENIMIENTO
ADVERTENCIAS PARA EL USO SEGURO DEL HORNO
Asegúrarse de que el horno esté en una posición estable y que los dispositivos de protección instalados por
encima del mismo sean ecientes.
Utilizar siempre adecuados guantes de protección para introducir y/o extraer las bandejas.
Poner siempre mucha atención al suelo, que a causa del vapor producido durante la cocción podría ser resba-
ladizo.
Al n de evitar quemaduras, no utilizar bandejas y contenedores con líquidos o uidos en los niveles más arriba
de los que se pueden controlar fácilmente con la vista.
No apoyar bandejas u otros utensilios de cocina encima del horno.
Hacer realizar controles periódicos al servicio técnico y sustituir las piezas dañadas que podrían afectar al buen
funcionamiento del horno o representar una condición de peligro.
Limpiar frecuentemente el horno siguiendo las instrucciones que guran en este manual.
CARGA MÁXIMA DE ALIMENTOS
Número de bandejas Carga máxima
4 x 460x340 8 kg
4 x 2/3 GN 8 kg
4 x 60x40 12 kg
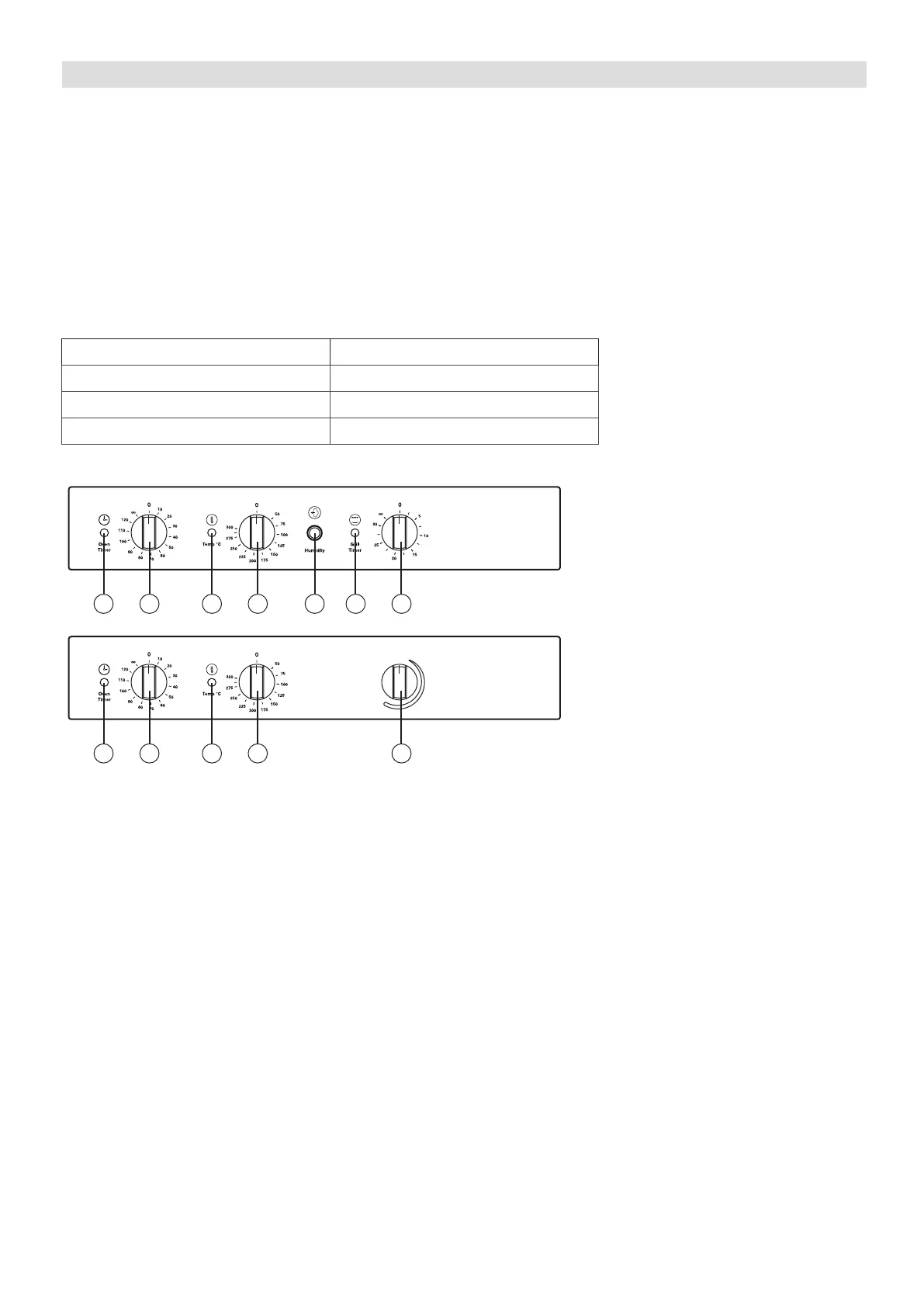
4.0 DESCRIPCIÓN COMPONENTES PANEL DE MANDOS
AB
C
D E
F
G
Modelos:
Convección
Convección con humidicación
(con o sin grill).
AB
C
D H
Humidity
Modelos:
Convección con vapor
A Termóstato cámara cocción. Rango de regulación de temperatura 50 - 270 °C
B Lámpara piloto calentamiento cámara cocción en funcionamiento
C Temporizador. Ajuste de 0 a 120 minutos o funcionamiento ininterrumpido.
D Lámpara piloto temporizador en funcionamiento
E Temporizador grill (modelos con grill)
F Lámpara piloto temporizador grill en funcionamiento (modelos con grill)
G Pulsador de humidicación manual (modelos convección con humidicación)
H Regulación de vapor (modelos convección con vapor)
4.5 ENCENDIDO DEL HORNO
Abrir la llave de paso del agua (si el horno dispone de humidicación manual) y el interruptor eléctrico de
protección instalados por encima del aparato. Seleccionar el tiempo de cocción en el temporizador (C), que es
regulable hasta un máximo de 120 minutos; para tiempos más largos seleccionar la posición (∞) de duración
ilimitada. La activación del temporizador, con la puerta cerrada, activa el ciclo de cocción con el arranque del
motoventilador, la activación del calentamiento y la generación del vapor, si seleccionada.
Al nal del tiempo establecido una señal acústica avisa que ha terminado el ciclo de cocción, con correspondien-
te parada de todas las funciones. Cuando se selecciona el tiempo de cocción es preciso tener siempre presente
el tiempo necesario para precalentar el horno.
4.6 APAGADO DEL HORNO
El horno se apaga colocando el mando del temporizador en la posición OFF.
ES

Related product manuals