EasyManua.ls Logo

Insignia NS-SUB12 - Connecting Your Subwoofers; Recommended Wiring Configurations

Insignia NS-SUB12
24 pages
To Next Page IconTo Next Page
To Next Page IconTo Next Page
To Previous Page IconTo Previous Page
To Previous Page IconTo Previous Page
Loading...
3
www.insignia-products.com
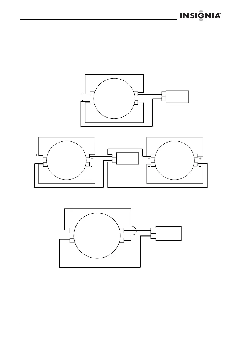
Connecting your subwoofers
Recommended wiring
Parallel voice coil configuration
Series voice coil configuration
2 ohm load
4 ohm
4 ohm
4 ohm
4 ohm
4 ohm
4 ohm
1 ohm load
Amplifier
Amplifier
4 ohm
4 ohm
8 ohm load
Amplifier