EasyManua.ls Logo

Intek MT-2020 - Page 48

Intek MT-2020
49 pages
Print Icon
To Next Page IconTo Next Page
To Next Page IconTo Next Page
To Previous Page IconTo Previous Page
To Previous Page IconTo Previous Page
Loading...
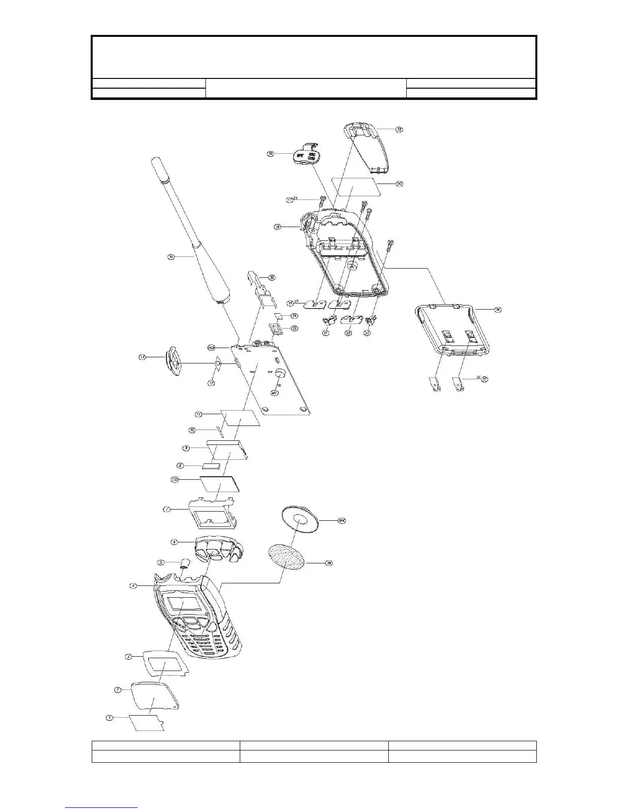
Model No: Drawing No:
Customer:
Title: MT2020/4040D SERVICE MANUAL
Rev. Date: January 5, 2005
Created by: Approved by: Rev. No:
For Stage : Release Date : Page 48 of 49
MT-4040D EXPLODED
VIEW

Related product manuals