EasyManua.ls Logo

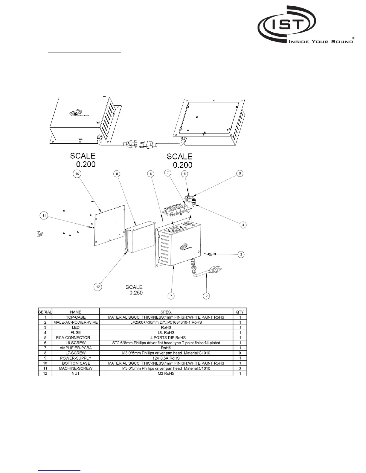
Intrasonic Technology I600 - 6 1600-AMP Explosion Diagram

Default Icon
19 pages
Print Icon
To Next Page IconTo Next Page
To Next Page IconTo Next Page
To Previous Page IconTo Previous Page
To Previous Page IconTo Previous Page
Loading...
Intrasonic Technology | 9525 Forest View Street | Dallas, Texas 75243|877‐435‐0670
pg.
8
6
I600AMP Explosion diagram