EasyManua.ls Logo

ircon Modline 5G-1007 - WJA Air Cooling Requirements; Sensor Temperature Alarm

Default Icon
156 pages
Print Icon
To Next Page IconTo Next Page
To Next Page IconTo Next Page
To Previous Page IconTo Previous Page
To Previous Page IconTo Previous Page
Loading...
Sensor Installation
46
Rev. L6 Feb 2017 Modline 5
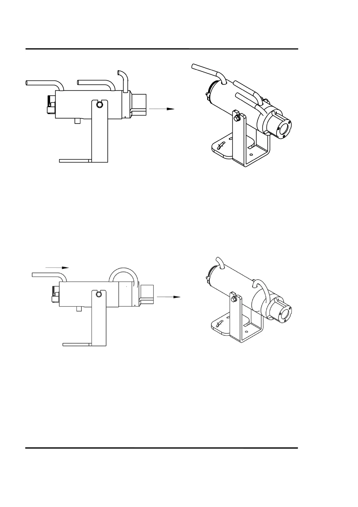
Figure 33: Water Cooling Standard Sensor
3.9.6.2 WJA Air Cooling Requirements.
Adequate cooling air for a 105C (220F) ambient is 4 SCFM (114 liters/min). Air temperature should be
30C (86F) or lower.
When using air to cool a Sensor with the Dirty Window Detector (DWD), an APA air purge must be
part of the assembly and the installation should reflect the drawing below.
Figure 34: Air Cooling Sensors with DWD
3.9.6.3 Sensor Temperature Alarm
The Modline 5 Sensor provides Alarms when the Sensor’s internal temperature exceeds its allowed
limit. Error Code X105 signifies the outside influences have caused the internal temperature to rise
above its limit. Error Code X103 signifies outside influences have caused the detector to rise above its
limit. If these alarms are triggered, check the installation for proper flow of air or water.
Higher than rated ambient temperature can also be the cause. Other possible causes of overheating
include radiant and conductive transfer of heat. Insulation, shielding and thermal isolation may be
necessary. See Section 8 Applications Guide, page 129 for more information.
WJA
Ambient Maximum is 105C (220F)
APA Air Exit
APA Air IN
Air OUT
Air IN at 30C (86F)
ESA with APA
Ambient Maximum is 200C (400F)
APA Air Exit
APA
Water OUT
Water IN
at 32C (90F)
Air IN at 30C (86F)
WJA
Add an ESA for Sensor with DWD

Table of Contents

Related product manuals