EasyManua.ls Logo

Jack JK-T718E - Page 63

Jack JK-T718E
66 pages
Print Icon
To Next Page IconTo Next Page
To Next Page IconTo Next Page
To Previous Page IconTo Previous Page
To Previous Page IconTo Previous Page
Loading...
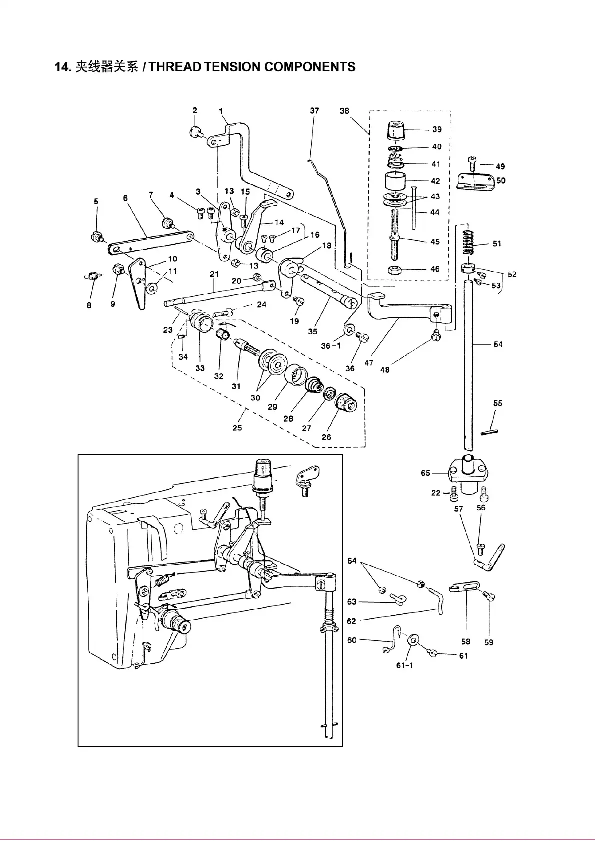
14.
夹线器关系
/THREAD
TENSION COMPONENTS
2
54
- 27 -

Related product manuals