EasyManua.ls Logo

Jack JK-T781D - Page 43

Jack JK-T781D
64 pages
Print Icon
To Next Page IconTo Next Page
To Next Page IconTo Next Page
To Previous Page IconTo Previous Page
To Previous Page IconTo Previous Page
Loading...
-7
-
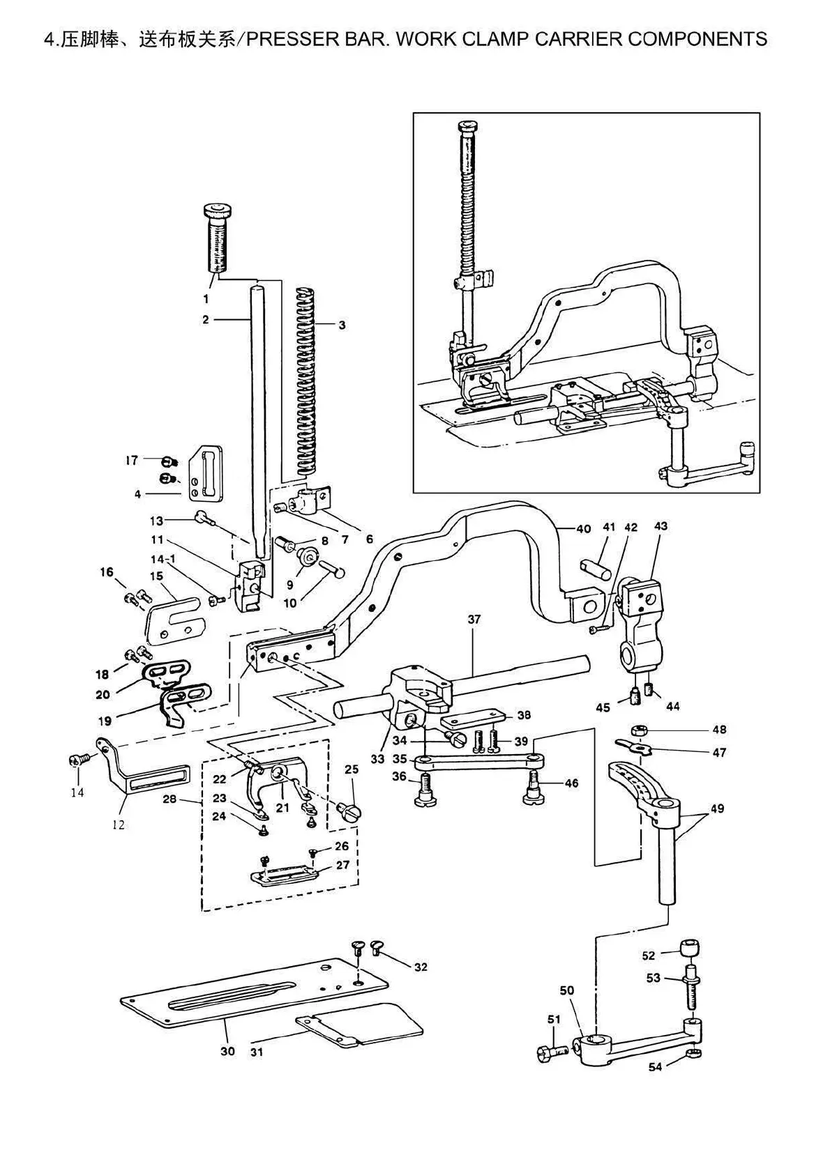
4
.
ff$1l~~
..
~1tlf&~~
/
PRESSER
BAR. WORK CLAMP CARRIER COMPONENTS
1-3
44
~
48
~47
I
49
From the library of: Superior Sewing Machine & Supply LLC