EasyManua.ls Logo

Jackery Explorer 1500 Pro - Page 40

Jackery Explorer 1500 Pro
44 pages
Print Icon
To Next Page IconTo Next Page
To Next Page IconTo Next Page
To Previous Page IconTo Previous Page
To Previous Page IconTo Previous Page
Loading...
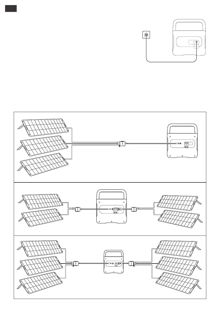
CARGA DESDE LA PARED
Use el cable CA incluido en el paquete por favor.
CARGA SOLAR
Jackery SolarSaga 200 / Jackery SolarSaga 100/ Jackery SolarSaga 60 Instrucciones
de conexión
Cuando se conectan uno o dos paneles solares para su carga, puede conectar el puerto CC8020
del panel solar directamente al puerto CC8020 del Jackery Explorer 1500 Pro. Cuando se conectan
tres o cuatro paneles solares, consulte el siguiente gráfico y empiece la carga mediante el
adaptador de carga solar en serie (Aviso: el adaptador de carga solar en serie se vende por
separado. Por favor, consulte las instrucciones detalladas del adaptador antes de usarlo).
Cargador de CA
ES
Explorer 1500 Pro
SolarSaga ×3
Explorer 1500 Pro
SolarSaga×2
SolarSaga×2Explorer 1500 Pro
SolarSaga×3 SolarSaga ×3
Explorer 1500 Pro
37

Related product manuals