EasyManua.ls Logo

Jackery Explorer 1500 Pro - Page 41

Jackery Explorer 1500 Pro
44 pages
Print Icon
To Next Page IconTo Next Page
To Next Page IconTo Next Page
To Previous Page IconTo Previous Page
To Previous Page IconTo Previous Page
Loading...
Instrucciones de conexión de Jackery SolarSaga 80
Para aquellos que han comprado Jackery SolarSaga 80, pueden cargar el producto consultando las
siguientes ilustracciones de conexión. Para cargar el producto los paneles solares Jackery SolarSaga
80 pueden conectarse en paralelo o pueden conectarse en serie después de la conexión en
paralelo. Una entrada de Explorer 1500 Pro permite un máximo de seis paneles solares Jackery
SolarSaga 80 (estos seis paneles deben dividirse en dos grupos con tres paneles en cada uno. Los
tres se conectan en paralelo y luego cargan el producto a través del adaptador de carga solar en
serie, que hay que comprar por separado). Las dos entradas soportan un total de doce paneles
solares Jackery SolarSaga 80. Para obtener instrucciones detalladas sobre cómo conectar los
paneles solares Jackery SolarSaga 80 en paralelo, consulte el manual del panel solar.
ES
SolarSaga×3 SolarSaga×1Explorer 1500 Pro
SolarSaga×3 SolarSaga×2Explorer 1500 Pro
SolarSaga×2 SolarSaga×1Explorer 1500 Pro
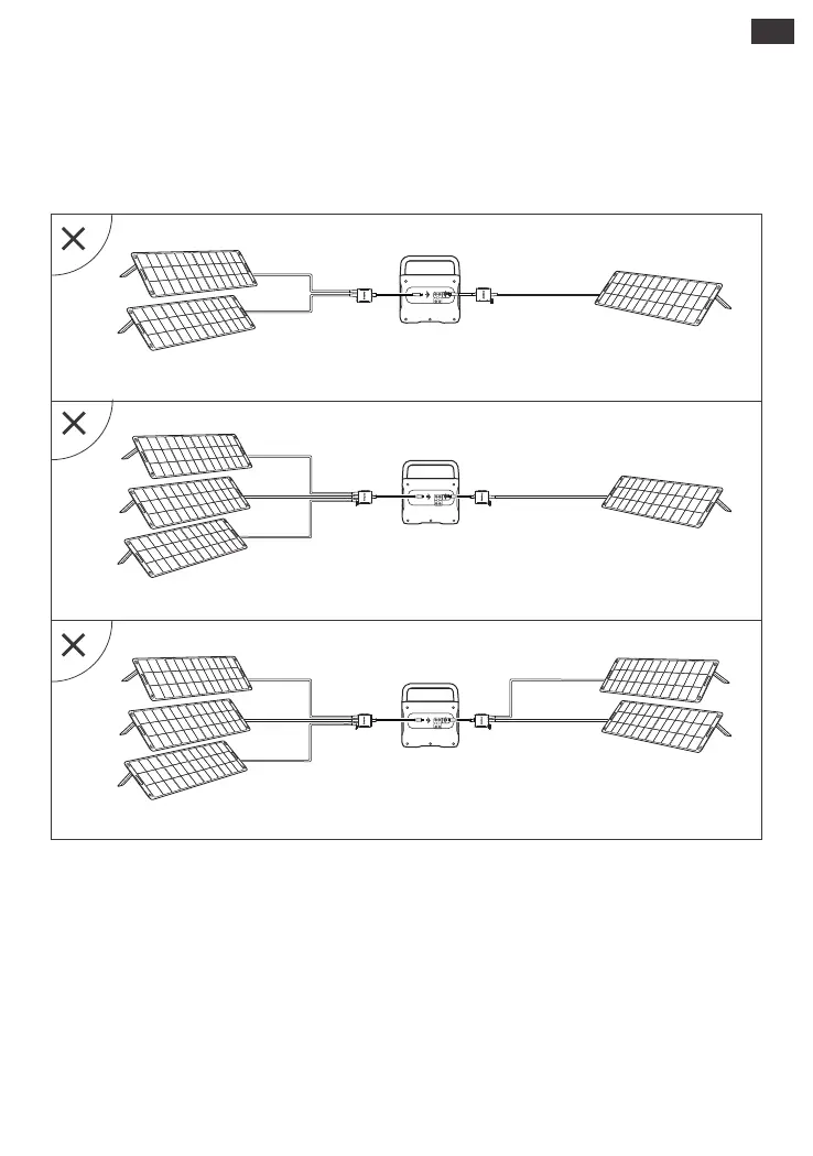
Precaución: cuando las dos entradas se utilizan al mismo tiempo, por favor asegúrese de utilizar el
mismo tipo de panel solar y el número de paneles solares en las dos entradas debe ser el mismo
para evitar daños o problemas de carga del equipo debido a la inconsistencia de los voltajes de los
dos canales.
Las siguientes formas de conexión están prohibidas para cargar este producto:
38

Related product manuals