EasyManua.ls Logo

Jacuzzi Maxi Alimia

Jacuzzi Maxi Alimia
136 pages
Go to English
To Next Page IconTo Next Page
To Next Page IconTo Next Page
To Previous Page IconTo Previous Page
To Previous Page IconTo Previous Page
Loading...
35
To activate the function, press the “Instant Clear” key.
The display will show the message boo.
The function lasts 45 minutes (this value cannot be changed).
During this time, the filtering pump and the hydromassage pumps
are turned on as follows:
- hydromassage pump 2 is activated only one time for one
minute.
- hydromassage pump 1 is activated for the rest of the cycle.
The ozonator is on for the entire duration of the cycle.
If the heater is on, it will continue to run normally, unless the
system is configured for limitation of electrical consumption.
The function stops:
- when the aforementioned time expires
- when another function is turned on.
- when the key is pressed again.
NOTE: if you need to activate the anti-freeze protection dur-
ing rapid filtering, rapid filtering will be temporarily suspend-
ed to allow the anti-freeze protection to be started.
USE OF THE HYDROMASSAGE
Bathing in a MaxiJacuzzi
®
is pleasing and healthful. After a
tough, stressful day, you can surround yourself in the calming,
relaxing warmth of water.
Depending on the model, the MaxiJacuzzi may have one
or two hydromassage pumps, one or two diverters, and
a certain number of nozzles and air-water mixture reg-
ulators.
Activation of hydromassage pumps
The hydromassage pumps can be turned on using the respective
keys:
Press the “Pump 1” key to turn on that pump.
Press the “Pump 2” key to turn on the other hydromassage
pump.
The pump(s) will run for 20 minutes, and can be turned off
earlier by pressing the aforementioned keys again.
NOTES
- When the hydromassage is started, the filtering pump is al-
so turned on, if it was not already. It will remain on for 10 min-
utes after the hydromassage is turned off.
- In models with two pumps and a blower, the operational
mode of the equipment depends on the electrical consumption
limitation configuration (see the relative chapter).
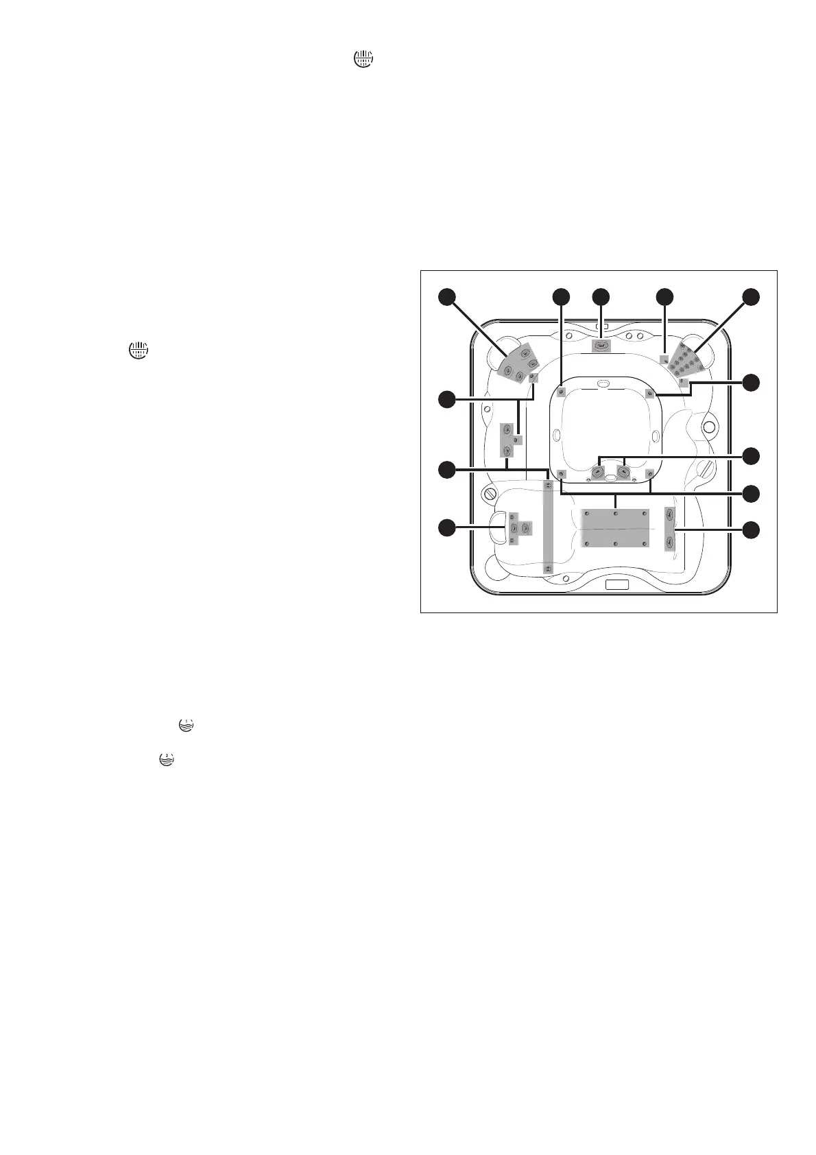
Below are some diagrams that refer to the Santorini
model. Please refer to the catalogue for specifications
for each model.
The jets integrated in the massage seats (part A) allow you to
direct the water at specific points of your back for in-depth mas-
sage that relaxes the muscles and reduces stress.
- The hydromassage jets indicated in detail B, depending on
how you position yourself, allow a massage of the lumbar area,
shoulders, sides, and arms.
- The jets illustrated in detail C are designed for relaxing foot
and ankle massage, thus improving the circulation. Since all of
the jets can be direction-adjusted, you can aim the jets at tense
or stiff muscles. The warmth and the stimulating flow of the wa-
ter will increase blood flow, providing immediate relief.
Each pump activates a specific set of jets:
A
A
B
B
A
C
C
D
D
D
D
D

Related product manuals