EasyManua.ls Logo

Jansen 499.001 - Bereitstellung und Handhabung

Default Icon
Print Icon
To Next Page IconTo Next Page
To Next Page IconTo Next Page
To Previous Page IconTo Previous Page
To Previous Page IconTo Previous Page
Loading...
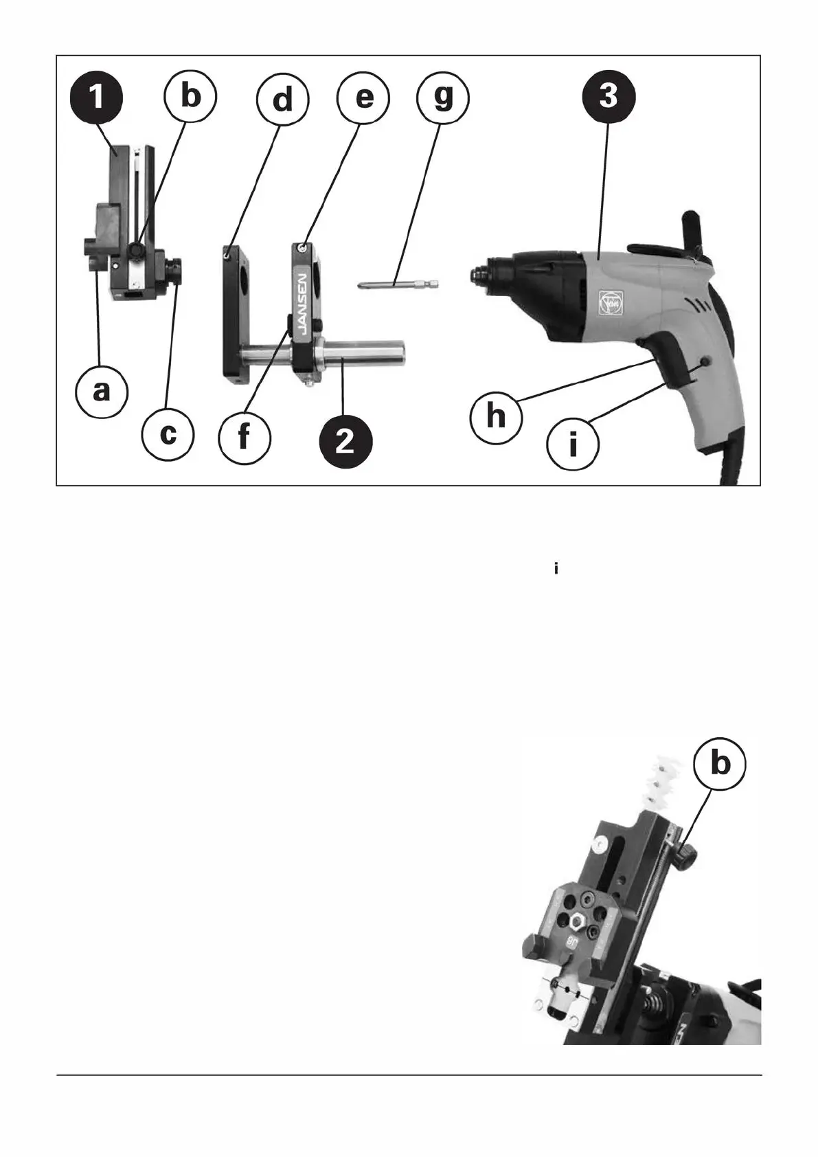
1
Magazinträger
2
Teleskop
3
Schraubgerät
d

g

a

e

h

b

f

 
C

1. 1 Bereitstellung und Handhabung des Gerätes

 
°


 
 

 
 
 

   

  

 
 (i)  
   


  

