EasyManua.ls Logo

JBL 305 - Connection Types; Balanced Lines; Unbalanced Lines; Unbalanced Sources to EON Powered Loudspeakers

JBL 305
28 pages
Print Icon
To Next Page IconTo Next Page
To Next Page IconTo Next Page
To Previous Page IconTo Previous Page
To Previous Page IconTo Previous Page
Loading...
23
Section 7: Connection Types
There are two basic types of audio system interconnections for audio signals: Balanced and Unbalanced.
Your EON
®
can accept either type of input.
Balanced Lines
In audio, a balanced line is a three-conductor system in which the two signal wires carry an equal, but
opposite voltage with respect to the ground wire. The ground wire acts only as a shield and does not carry
any audio signal current. Outside interference (such as RFI - Radio Frequency Interference) is either
shielded from the internal signal conductor, or if it gets into the cable is cancelled out by the opposite signals
at the receiving end. Balanced connections are preferred for any longer cable runs.
Unbalanced Lines
Unbalanced cable is a two-wire system where the shield (ground wire) acts as one of the current carrying
signal conductors. The center conductor enclosed by the shield is commonly known as the “hot” conductor.
Unbalanced audio cables do not reject noise as well as balanced lines.
Unbalanced lines are typical in home hi- type systems and on the outputs of electronic musical
instruments. These work well if the distance between the components is short, the signal level is
relatively high and all of the electronics used in the system are plugged into the same AC service.
Unbalanced Sources to EON Powered Loudspeakers
If you need to connect your EON speakers to an unbalanced source you have two options:
Use the LINE 1 and LINE 2 connectors. These inputs are balanced but will accept
unbalanced inputs without the need for any special adapters.
• Use an adapter or special cable
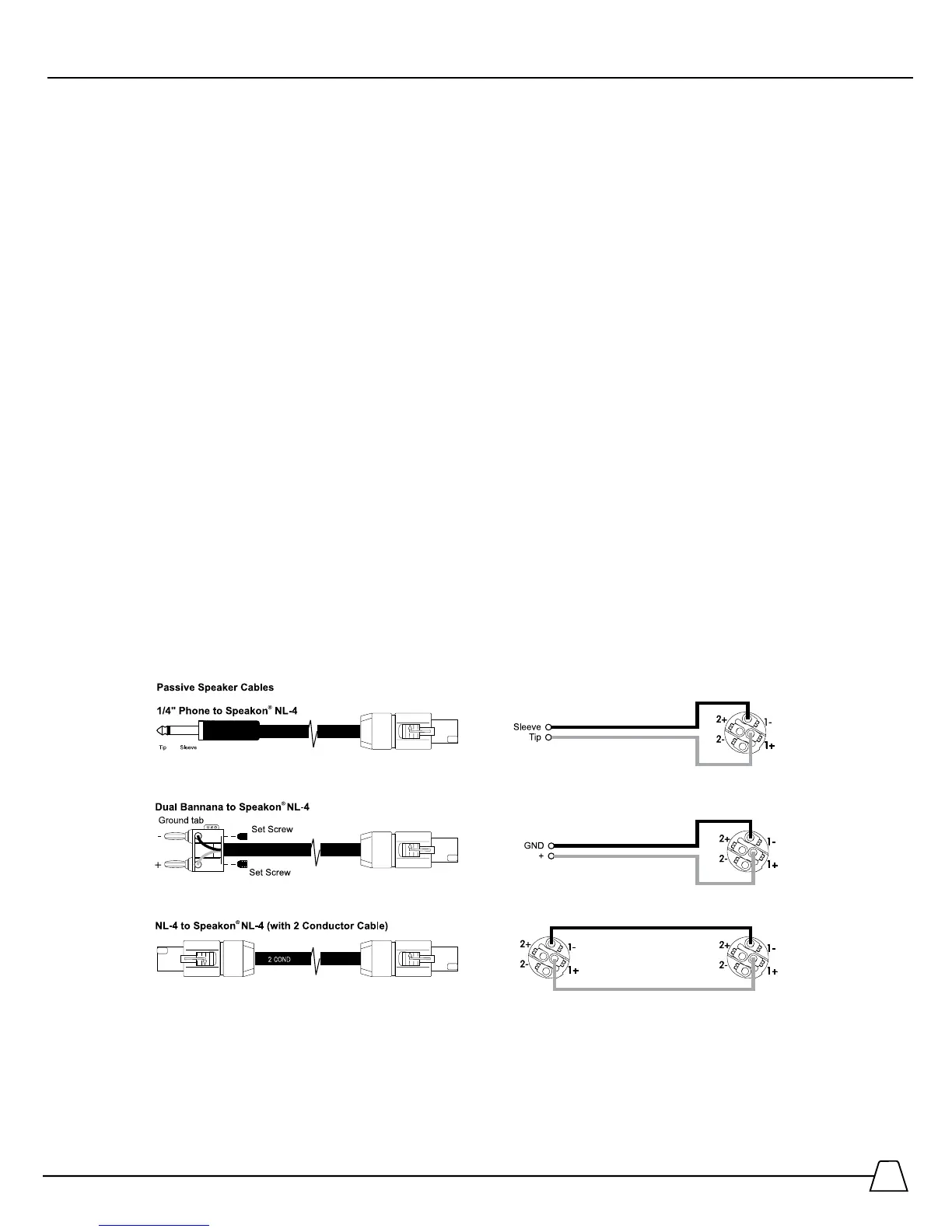
Cables and Connectors
Speakon
®
is a registered trademark of Neutrik AG.

Related product manuals